J-0
00m
00j
00h
00min
00s

Version interactive avec LaTeX compilé

ENS Physique PC 2002

Notez ce sujet en cliquant sur l'étoile
0.0(0 votes)
Logo ens
2025_09_04_eb3fd1e48942db5077e5g
SESSION 2002

Filière PC

(ENS de Paris)

PHYSIQUE

Durée : 6 heures
L'usage de la calculatrice n'est pas autorisé.
Les applications numériques ne seront demandées qu'avec un chiffre significatif. Elles interviendront de manière notable dans la notation.
Le problème est constitué de parties très largement indépendantes qui peuvent être abordées indépendamment les unes des autres.
Le problème s'intéresse à quelques aspects de la physique tournée vers la biologie, plus précisement celui de la micromanipulation de molécules uniques d'acides nucléiques (ADN ou ARN).
  • La première partie est consacrée à l'obtention des ordres de grandeurs des forces mises en jeu aux échelles étudiées. La viscosité ayant un rôle important, un calcul de la force visqueuse s'exerçant sur une sphère en translation sera effectué.
  • Dans la seconde partie nous présenterons deux systèmes expérimentaux permettant la mesure des forces impliquées.
  • La dernière partie est consacrée à l'interprétation des résultats de deux expériences indépendantes de traction sur des acides nucléiques.
On travaillera en permanence à .
On donne :
La constante de Boltzmann : . . . . . . . . . . . . . . . . . .
La viscosité dynamique de l'eau : ...................
La masse volumique de l'eau : . . . . . . . . . . . . . . . . . . . . . . . .
L'indice optique moyen de l'eau dans le visible : . . . . . . . . . . . .
La valeur en joule d'un électron volt : ..................
La célérité de la lumière dans le vide : . . . . . . . . . . . . . . . . .
Le développement limité au voisinage de 0 de la fonction :

Si est un vecteur
On rappelle que la valeur moyenne d'une grandeur distribuée avec une certaine probabilité normalisée est donnée par :
On repèrera un vecteur unitaire en coordonnées sphériques par les angles et tels que représentés sur la figure suivante.
En coordonnées sphériques lorsque la vitesse est indépendante de l'angle :

Première partie

Effets de la viscosité et ordres de grandeur

1 Ordres de grandeur des forces

1.1 Pesanteur

Une bactérie, constituée essentiellement d'eau, a une dimension caractéristique de . Estimer son poids.

1.2 Viscosité

On va montrer dans la suite de cette partie que la force qui s'exerce sur une sphère de rayon en translation à la vitesse dans un milieu de viscosité dynamique est donnée par: . Une bactérie d'environ un micron se propulse à environ . Estimer la force que la bactérie génère pour se déplacer. Si la bactérie cesse de se propulser, quelle distance met elle pour s'arrêter?

1.3 Chimique

Donner l'ordre de grandeur de la force nécessaire pour rompre une liaison covalente.

1.4 Mouvements moléculaires biologiques

Pour les mouvements biologiques au niveau moléculaire les énergies mises en jeu sont légèrement supérieures à l'énergie d'agitation thermique alors que les déplacements des protéines sont typiquement nanométriques. Dans quelle gamme se situent les forces que l'on va rencontrer à cette échelle?

2 Viscosité

Nous allons maintenant revenir sur le calcul des forces de viscosité à l'échelle de la cellule. On rappelle que l'équation locale qui régit la dynamique du fluide en l'absence de force extérieure est :
est la pression, la masse volumique de fluide, la viscosité dynamique du fluide et la vitesse locale.

2.1 Généralités

Nombre de Reynolds : rappeler la définition et le sens physique du nombre de Reynolds Re. Quels termes compare-t-il dans l'équation du mouvement du fluide? A priori, à l'échelle cellulaire, Re est-il grand ou petit devant 1 ?
Analyse dimensionnelle : dimensionnellement, quelle force s'exerce sur un objet de dimension se déplaçant à la vitesse dans un milieu de viscosité dynamique et de masse volumique ? On ne s'interessera qu'aux deux cas limites et en remarquant que dans l'équation du mouvement les termes prépondérants ne sont pas les mêmes dans les deux cas.
Incompressibilité : si on s'intéresse au cas des molécules biologiques, le fluide va être évidemment de l'eau. Quelle condition sur la vitesse caractéristique de l'écoulement, que l'on considérera vérifiée par la suite, permet de considérer que l'eau, plus précisément l'écoulement, est incompressible? On introduira la compressibilité adiabatique de l'eau et la célérité du son dans le fluide . Avec cette hypothèse vérifiée, quelle nouvelle équation vérifie la vitesse?

2.2 Force de Stokes

Nous allons maintenant nous intéresser uniquement au cas dans la situation où l'objet en mouvement dans le liquide est une sphère de rayon dans un milieu infini. On suppose que le mouvement de la sphère est une translation à la vitesse constante . La pression à l'infini, loin de la sphère, est uniforme et sa valeur est .
On se va placer dans le référentiel lié à la sphère pour trouver la vitesse en tout point du fluide et en déduire la force. On prendra un repère dont l'origine sera au centre de la sphère et dont l'axe est orienté dans la direction de

2.2.1 Equations du problème

  • Comment s'écrivent toutes les équations qui gouvernent le mouvement (dynamique et conservation de la masse) dans le cas particulier où l'on se place ( ) dans le référentiel lié à la sphère.
  • Précisez avec soin les conditions aux limites, les symétries et invariances du problème. En particulier que valent et en fonction de et ?
  • En utilisant l'incompressibilité du fluide, obtenir une équation portant uniquement sur la pression .
    On cherche une solution particulière pour la vitesse du fluide. Montrer que :
convient.
La solution générale va donc être une combinaison linéaire de cette solution particulière et de solutions de l'équation de Laplace vectorielle.

2.2.2 Résolution mathématique

Les solutions de l'équation de Laplace permettant d'obtenir les solutions avec les bonnes propriétés d'invariance seront construites par combinaison linéaire des éléments suivants appliqués à ou :
qui est une fonction scalaire.
et qui sont des vecteurs.
  • et qui sont des matrices telles que si est un vecteur quelconque:
y a deux éléments que l'on peut éliminer facilement, lesquels? Justifier.
Sachant que l'on doit construire, à partir des éléments précédents, un scalaire pour la pression et un vecteur pour la vitesse, donner la forme des
solutions en faisant intervenir et . On remarquera avec profit que les équations du mouvement sont linéaires ce qui permettra d'éliminer certains termes possibles. Pour réduire encore le nombre de termes envisageables, on utilisera aussi le fait que , qui est aussi la pression au repos, ne peut physiquement intervenir que par sa différence avec . Par ailleurs, on ne cherchera pas à construire de termes faisant intervenir deux éléments proposés : par exemple, on ne prendra pas ( ) pour construire un scalaire pouvant intervenir dans la pression.
En utilisant les conditions aux limites et la conservation de la masse montrer que :
est le rayon vecteur du point considéré.

2.2.3 Calcul de la force

Le tenseur des contraintes est une matrice symétrique ( ) dont les différents éléments dépendent de la pression et de la vitesse. II permet d'obtenir les différentes composantes de la force s'exerçant sur un élément de surface en contact avec un fluide (dont on connait les champs de pression et de vitesse) par la relation suivante :
est le vecteur normal à la surface dirigé vers le fluide.
En coordonnées sphériques les composantes du tenseur des contraintes
sont reliées au champ des vitesses par :
  • Dans le cas d'un fluide non visqueux, l'expression générale du tenseur des contraintes permet de retrouver une expression connue pour , laquelle?
  • Quelle est la composante suivant de la force qui s'exerce sur un élément de surface de la sphère repéré par les angles et ? On remarquera pour alléger les calculs que, du fait des conditions aux limites, un certain nombre de termes du tenseur des contraintes sont nuls dans notre cas.
  • En déduire que la force totale s'exerçant sur la sphère est donnée par la formule de Stokes :

Deuxième partie

Techniques expérimentales de mesure de force

Comme nous venons de le voir, les forces mises en jeu pour manipuler des objets biologiques individuels sont très faibles. Il faut donc avoir des techniques spécifiques pour exercer et mesurer ces forces. Nous allons détailler deux de ces techniques :
  • les pinces magnétiques
  • les pinces optiques.
Ces deux sous-parties sont indépendantes.

3 Pinces magnétiques

Nous considérons une bille ferromagnétique à saturation attachée à une surface par l'intermédiaire d'une molécule comme représenté sur la figure 1. Expliquer succintement pourquoi, si on met la bille sous des aimants permanents, on est capable d'exercer une force sur la molécule. Comment augmenter ou diminuer cette force? L'orientation de la bille est-elle quelconque?
On prendra cette force verticale, dirigée selon l'axe . On la notera . On négligera le poids de la bille dans toute cette partie.

3.1 Mesure de force

Du fait du choc des molécules d'eau et de sa faible taille (son rayon vaut quelques microns), la bille possède un mouvement, appelé mouvement brownien, qui peut la dévier de sa position d'équilibre c'est-à-dire sa position moyenne. Expérimentalement, la bille est visualisée en microscopie optique et la position de la bille au cours du temps est enregistrée comme on peut le voir sur la figure 1.

3.1.1 Approche temporelle

Système mécanique équivalent : on considère uniquement le mouvement perpendiculaire à la force appliquée : déterminer la force de rappel à la
Fig. 1 - A gauche : dispositif expérimental des pinces magnétiques pour exercer une force sur une molécule d'ADN. A droite : suivi de la bille au cours du temps, le choc des molécules d'eau sur la bille provoque des fluctuations de la position de la bille.
position d'équilibre lorsque la déviation perpendiculairement à la force dans la direction est . On fera l'approximation que la déviation est faible devant l'extension moyenne de la molécule que l'on gardera fixe. On exprimera la force de rappel selon en fonction de et .
A quel dispositif classique des exercices de mécanique peut-on assimiler le mouvement transverse du système? Quelle est son énergie potentielle en fonction de ? Bien que cela ne soit pas indispensable, on pourra faire l'analogie avec un pendule dans le champ de pesanteur pour retrouver un système connu.
Energie associée et force : comme nous l'avons dit dans le préambule, l'échantillon est placé à la température fixée.
Pour un système à l'équilibre à une température on rappelle la loi de Boltzmann qui dit que si un système possède une énergie dépendant de la position, par exemple , la probabilité d'avoir le système à une position à près est proportionnelle à .
  • Utiliser la loi de Boltzmann pour calculer l'énergie potentielle moyenne associée à ce mouvement.
  • En déduire que la force est donnée par :
  • Proposer une méthode de mesure de la force.

3.1.2 Limitations

Limitation théorique : sachant que le dispositif expérimental permet de mesurer des déplacements de 1 nm , quelle est la force maximale théoriquement mesurable pour une molécule de de long attachée à une bille de de diamètre? Quelle est la force minimale mesurable?
Équations du mouvement et approximations : le résultat des chocs des molécules d'eau sur la bille magnétique de densité 1,5 est une force aléatoire appelée force de Langevin que l'on notera . C'est elle qui est à l'origine du mouvement brownien.
  • Ecrire l'équation du mouvement transversal (par rapport à la force) de la bille en prenant en compte cette force.
    On va chercher des solutions forcées à une pulsation donnée : avec . Pour traiter la composante de la force de Langevin à la pulsation on admettra que c'est un bruit blanc, c'est-à-dire que est une constante.
  • Exprimer les pulsations caractéristiques qui apparaissent.
  • Faire les applications numériques pour une bille de diamètre dans de l'eau, attachée à une molécule de , sur laquelle s'exerce une force de 1 pN .
  • Le résultat de ces applications numériques est que l'on peut, en pratique, négliger le terme inertiel (lié à la masse). Quelle pulsation caractéristique du mouvement reste-t-il?
Limitation expérimentale : pour suivre la position de la bille au cours du temps, on utilise une caméra vidéo dont la fréquence d'acquisition est de 25 images par seconde. Expliquer en quoi cela modifie la force maximale mesurable. Faire une application numérique pour une molécule de de long attachée à une bille de de diamètre?
Fig. 2 - Dispositif à deux faisceaux pour les pinces optiques : un laser émet un faisceau lumineux qui est focalisé par l'objectif. Si une bille est au point focal, elle peut dévier le faisceau. Par conséquent une force s'exerce sur elle. Le faisceau est collecté par l'autre objectif. Grâce aux lames quart d'ondes et aux cubes séparateurs, le faisceau est ensuite envoyé sur un photodétecteur qui donne un signal proportionnel à la puissance et à la position du faisceau (détecteurs de position). Les deux objectifs jouent des rôles symétriques. Les lames quart d'ondes et les cubes séparateurs ne servent donc qu'à séparer les deux faisceaux laser qui ne sont pas polarisés de manière identique.

4 Pinces optiques

4.1 Dispositif à deux objectifs

Le dispositif des pinces optiques permet de piéger une bille de diélectrique de taille micronique au point de focalisation d'un faisceau laser. On va s'intéresser plus particulièrement au type de pinces optiques développées par C. Bustamante et S. Smith de l'université de Berkeley. Ce dispositif a été utilisé pour tirer sur l'ARN et sur l'ADN (troisième partie). Le dispositif est schématisé et décrit dans la figure 2.

4.1.1 Calcul de la force

  • Rappeler quelle est la quantité de mouvement d'un photon de longueur d'onde .
  • Que vaut la variation d'impulsion d'un faisceau parallèle de puissance qui est dévié de sa trajectoire initiale d'un angle ?
  • Quelles sont les composantes de la force résultante sur l'objet qui dévie le faisceau?
    On repère un faisceau lumineux par les angles et des coordonnées sphériques prises par rapport au trièdre centré au point focal commun des deux objectifs dont l'axe des coincide avec l'axe optique. En faisant un bilan des variations de quantité de mouvement des rayons entrant et sortant montrer que la force s'exerçant sur l'objet est donnée par l'expression :
est l'intensité lumineuse comptée négativement pour les rayons entrant et positivement pour les rayons sortant est la puissance du faisceau lumineux compris entre les angles et et et l'indice du milieu dans lequel baigne la bille piégee, la célérité de la lumière dans le vide. sont les vecteurs unitaires selon les axes .

4.1.2 Relation entre la force et le signal mesuré

Pour obtenir la force, il faut donc intégrer l'intensité sur les angles. Un détecteur permet cette opération (voir les détecteurs de position de la figure 2 ). Il est en fait constitué lui même de deux détecteurs, un pour chaque composante. Pour la composante selon de la force, le détecteur délivre un courant donné par :
est l'éclairement local (puissance par unité de surface) au point de coordonnées et l'abscisse du point considéré, une dimension caractéristique du détecteur et un facteur de proportionalité entre le courant et l'éclairement (c'est une sensibilité). Le détecteur suivant est analogue à celui suivant , il délivre un courant donné par :
L'ensemble du système optique est aligné de manière à ce que, lorsque la bille est piégée et qu'aucune force extérieure ne s'applique dessus, le signal délivré par les deux détecteurs soit nul. On note la distance focale de la lentille de l'objectif.
On va admettre que les objectifs utilisés de distance focale sont tels qu'un faisceau passant par le foyer objet situé dans l'eau d'indice et faisant un angle avec l'axe optique ressortira parallèle à l'axe à une distance de celui-ci donnée par :
  • Relier l'intensité lumineuse à l'éclairement.
  • Exprimer les composantes de la force et en fonction de la vitesse de la lumière dans le vide, de , de et de et de ainsi que .

4.2 Mesure du signal lumineux

Connaissez vous un détecteur utilisé en travaux pratiques délivrant un signal proportionnel à l'intensité lumineuse incidente? Donner le schéma de principe de cet appareil. Proposer un schéma de cablage.
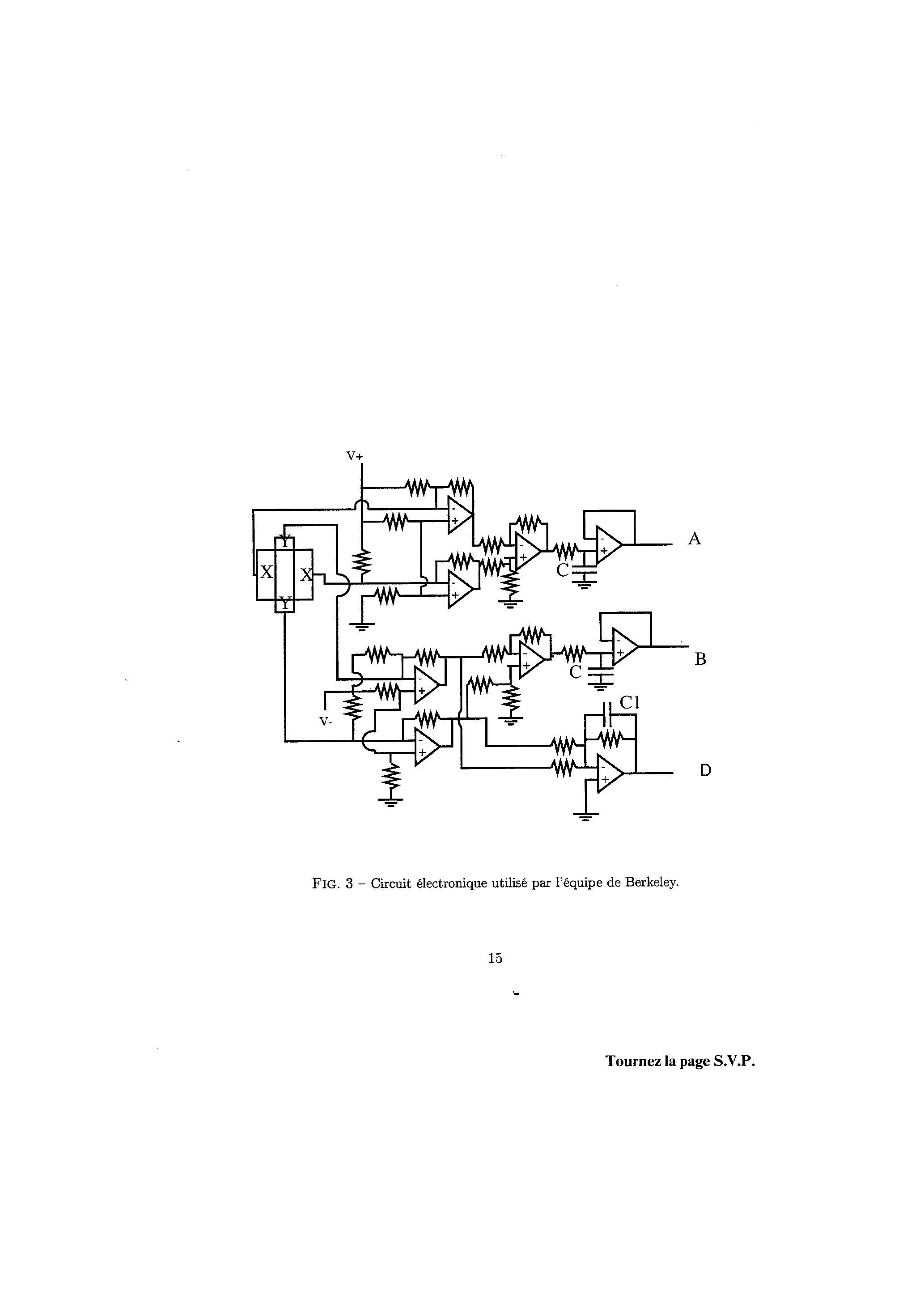
Le photorécepteur utilisé par l'équipe de Berkeley est composé de deux photorécepteurs permettant de mesurer le déplacement du faisceau (un pour chaque axe et ). Ils délivrent un courant qui dépend donc de la puissance lumineuse et de la position du faisceau incident. Un schéma de leur circuit de traitement du signal lumineux est présenté sur la figure 3. Toutes les résistances sont égales à . et - sont les tensions d'alimentation des amplificateurs. Les amplificateurs opérationnels seront considérés comme idéaux et fonctionnant en régime linéaire. Les deux voies du détecteur permettant de mesurer la déviation du faisceau selon et sont repérés par et .
Analyser le circuit et montrer que les tensions permettant de mesurer la force sont en et . A quoi peuvent servir les condensateurs , comment choisir leur valeur? Proposer d'autres montages permettant d'obtenir les renseignements utiles.

4.3 Méthodes alternatives de mesures de force avec des pinces optiques

À partir ce que nous avons vu pour l'analyse fréquentielle lors de l'étude des pinces magnétiques, proposer une méthode de mesure de la force n'utilisant pas les photodétecteurs pour mesurer la variation d'impulsion des photons. On admettra que le piège optique peut se modéliser comme un ressort qui ramène la bille piégée au point focal des objectifs.
Fig. 3 - Circuit électronique utilisé par l'équipe de Berkeley.

Troisième partie

Interprétation d'expériences de micromanipulation de molécules uniques

5 Traction sur une molécule d'ADN

La première expérience que nous allons discuter est celle de la traction sur une molécule d'ADN. Les dispositifs expérimentaux que nous venons de voir permettent de mesurer l'élasticité de la molécule c'est-à-dire la relation entre l'extension de la molécule d'ADN et la force qui lui est appliquée. Le modèle le plus simple consiste à considérer l'ADN comme une suite de maillons indépendants qui peuvent s'orienter indépendamment les uns des autres sans coût énergétique. On notera la taille d'un maillon et le nombre de maillons. La longueur cristallographique de la molécule est donc , celle-ci est en général différente de l'extension de la molécule qui est la distance moyenne entre les bouts de la molécule.
On notera le vecteur de norme a donnant l'orientation du ième maillon. On repèrera l'orientation de ce maillon par les angles et comme sur la figure 4.

5.1 Force nulle

Dans le cas où la force appliquée sur la molécule est nulle, les maillons s'orientent aléatoirement dans toutes les directions. Donner la valeur moyenne de l'extension de la molécule ainsi que l'écart quadratique moyen de cette longueur ( ).
Pour l'ADN a a été mesuré et vaut environ 50 nm . Pour un génome d'environ cent millions de paires de bases, quel est le volume de la pelote d'ADN ainsi formée si on admet que l'on a une sphère de rayon ? La distance entre deux paires de bases est de .
Fig. 4 - Le ième maillon de la molécule est repéré par les angles et .

5.2 Relation force-extension

En prenant pour système la molécule :
  • Quel est le travail reçu par le système lorsque l'élongation passe de à ?
  • Donner en le justifiant la fonction thermodynamique qui donne l'énergie maximale récupérable lorsque l'on tire à force (et température) constante sur la molécule. On introduira l'entropie , l'énergie interne la chaleur reçue par le système lorsque l'élongation passe de à . On note toujours la température.
    Dans la suite on admettra que l'absence d'énergie associée à l'orientation relative des maillons d'ADN se traduit par le fait que l'énergie interne est nulle. On admettra également que la probabilité d'avoir les pointant dans les angles solides autour des directions repérées par les angles et , est donnée par :
est une constante de normalisation.
  • Normaliser cette probabilité. On rappelle que les angles solides élémentaires valent : . On remarquera la possibilité de
    factoriser l'expression pour alléger les calculs.
  • Montrer que la relation entre la force et l'extension moyenne est donnée par:
ou est le vecteur unitaire dans l'axe de la force.

5.3 Régimes particuliers

  • Commenter le régime des grandes forces.
  • Faire un développement limité à faible force pour montrer que la molécule est alors équivalente à un ressort dont on donnera la raideur.
  • Que se passe-t-il si à force constante on augmente la température? Est-ce un comportement habituel? Commenter.
  • Pour l'ADN . Donner la force caractéristique qui permet d'étendre notablement l'ADN.
    Expérimentalement la courbe obtenue est légèrement différente de celle prévue par notre modèle. Proposer des pistes pour améliorer le modèle.

6 Traction sur l'ARN

Une collaboration entre différentes équipes de Berkeley a débouché sur la première expérience de traction sur un bout d'acide ribonucléique (ARN). A la différence de l'ADN qui est constitué de deux brins complémentaires associés, l'ARN se présente comme un seul brin sur lequel sont placées des bases. Celles ci sont capables de former des liaisons hydrogène avec d'autres bases. Il en résulte la possibilité d'avoir un repliement de la molécule aboutissant à la formation de liaisons intramoléculaires. La molécule adopte alors une structure qui est directement liée à sa séquence. Cette structure est essentielle à la fonction biologique. Le but de l'expérience de l'équipe de Berkeley était d'utiliser la force appliquée pour sonder la structure de la molécule. Les molécules d'ARN sont très petites comparativement aux molécules d'ADN et sont donc plus difficiles à manipuler. Pour réaliser cette expérience, ces équipes ont inséré un bout d'ARN au milieu d'une molécule d'ADN. On ne s'occupera pas du tout de la portion d'ADN dans la suite de cette partie.
Fig. 5 - En noir : extension d'une molécule d'ADN contenant une portion d'ARN. Au voisinage d'une force critique le bout d'ARN subit une transition de longueur entre un état replié impliquant des liaisons intramoléculaires et un état déplié où les liaisons sont rompues. L'autre courbe sert de référence : c'est celle de l'ADN sans bout d'ARN inséré. De ces deux courbes les équipes de Berkeley ont extrait la courbe d'élongation propre à l'ARN.
Comme on peut le voir sur la figure , pour le cas particulier de la séquence d'ARN étudiée par ces équipes, à une force voisine de il se produit une brusque variation de longueur : toutes les liaisons hydrogènes internes de l'ARN se sont brisées. L'ARN s'est déplié. Lorsque la force est abaissée l'ARN s'est replié.

6.1 Analyse sur différentes tractions

  • En remarquant que l'ARN est soit replié soit déplié donner un exemple de système physique étudié durant votre scolarité (plus particulièrement cette année) dont la modélisation physique aboutit à un comportement similaire. On cherchera dans le domaine du magnétisme et on donnera l'analogue de la force et des états dépliés et repliés.
  • Comme précédemment on admet que la probabilité d'avoir l'ARN avec une élongation donnée est proportionnelle à (cf. 5.2 à la différence qu'ici l'énergie interne n'est pas toujours nulle puisqu'elle peut comprendre des liaisons intramoléculaires et que l'ARN n'est pas décrit comme une suite de maillons puisque son élongation ne peut prendre
Fig. 6 - Cette figure représente la proportion, sur les différentes tractions sur une molécule d'ARN, de tractions ou l'ARN est déplié à une force donnée.
que deux valeurs). Les points expérimentaux de la figure 6 ont été obtenus en effectuant de multiples tractions sur une molécule. En vous aidant de l'analogie précédente, par quelle fonction analytique essayeriez vous de décrire les données expérimentales de la figure 6 qui représente la proportion de molécules allongées en fonction de la force.
  • Comment en déduire l'énergie associée à la formation des liaisons intramoléculaires?

6.2 Analyse temporelle

Pour étudier le même système et obtenir les mêmes renseignements on peut également se placer à force constante et suivre l'élongation de la molécule en fonction du temps. C'est ce qui est représenté sur la figure 7.
  • Comment le suivi de l'élongation de la molécule en fonction du temps à une force donnée permet-il d'obtenir la constante d'équilibre du système à cette force?
  • La dépendance de celle-ci en fonction de la force est représentée sur la figure 7. En déduire l'énergie impliquée dans la formation des liaisons intramoléculaires pour la molécule d'ARN étudiée. On fera une application numérique à partir de la figure 7 .
Fig. 7 - A gauche : élongation de la molécule en fonction du temps à force constante. A droite : constante d'équilibre en fonction de la force.

6.3 Approche cinétique

Exprimer la constante d'équilibre en fonction des constantes cinétiques de chacune des deux réactions mises en jeu. En faisant intervenir un état activé exprimer les constantes cinétiques en fonction d'une énergie d'activation, de la force et de variations de longueur par rapport à l'état activé. Comment obtenir les constantes cinétiques à partir des figures? Expliciter la démarche qui permet de retrouver les résultats des questions précédentes.
ENS Physique PC 2002 - Version Web LaTeX | WikiPrépa | WikiPrépa