J-0
00m
00j
00h
00min
00s

Version interactive avec LaTeX compilé

E3A Physique Chimie PSI 2003

Notez ce sujet en cliquant sur l'étoile
0.0(0 votes)
Logo e3a
2025_09_04_6e6bee0cea6864773506g

CONCOURS ENSAM - ESTP - ENSAIS - ECRIN - ARCHIMEDE

Epreuve de Physique-Chimiedurée 4 heures

Ce problème traite de l'uranium et comporte deux volets indépendants : élaboration de l'oxyde et de l'hexafluorure d'uranium dans une première partie (CHIMIE), étude de l'enrichissement de l'hexafluorure en seconde partie (PHYSIQUE), les deux parties étant également pondérées.
Remarques préliminaires importantes : il est rappelé aux candidat(e)s que :
  • les explications des phénomènes étudiés interviennent dans la notation au même titre que les calculs.
  • les résultats exprimés sans unité ne seront pas comptabilisés.
  • dans tous les calculs, les gaz sont assimilés à des gaz parfaits (leurs pressions partielles sont notées en caractères italiques) et les phases solides sont considérées comme non miscibles. Seront utilisés les indices suivants: (s) solide ; (l) liquide ; (g) gaz. On notera Ln, le logarithme népérien et log, le logarithme décimal.
  • les données numériques sont répertoriées à la fin de chacune des parties du problème.
    de l'énergie électrique consommée en France provient de réacteurs nucléaires dont utilisent comme combustible de l'oxyde d'uranium , dont la teneur en uranium 235 doit atteindre un seuil de . En proportion insuffisante dans l'uranium naturel, il convient d'enrichir cet uranium en isotope 235.
L'enrichissement par effusion gazeuse est le premier procédé industriel de séparation isotopique. Ce procédé met à profit la faible différence de masse des isotopes de l'hexafluorure d'uranium UF6 pour séparer sélectivement les molécules par passage au travers d'une paroi poreuse.

PREMIERE PARTIE : CHIMIE DE L'URANIUM

A / ELEMENT URANIUM

La matière est formée d'atomes caractérisés par la structure de leurs noyaux notés , où est le nombre de protons et le nombre de nucléons (neutrons et protons).
A1. L'uranium a pour numéro atomique 92 et existe essentiellement sous forme de deux isotopes et . Définir le terme isotope et citer deux isotopes d'un autre élément de votre choix. Peut-on différencier deux atomes de noyaux isotopes par leurs propriétés chimiques ? Quel nom A porte-t-il ?
A2. Les masses atomiques molaires de et s'élèvent respectivement à : et . Sachant que la masse atomique molaire de l'uranium naturel vaut , déterminer la proportion d'uranium 235 dans l'uranium naturel.
Ces deux noyaux sont instables et se transforment avec émission d'un noyau d'hélium (particule ) et d'un noyau de thorium, Th ( ).
A3. Ecrire les réactions de désintégration de et .
Les désintégrations sont des réactions d'ordre 1, de constante de vitesse . Soient le nombre de noyaux d'un radio-isotope à l'instant et le nombre de noyaux de cet isotope restant à l'instant .
A4*a. Déterminer la loi de variation . Etablir la relation liant et , période radioactive (définie comme l'intervalle de temps nécessaire pour qu'il ne reste plus que la moitié des radioisotopes initiaux).
A4*b. Sachant que l'uranium 235 et l'uranium 238 se décomposent avec des périodes respectives de ans et ans, calculer la proportion d'uranium 235 lors de la formation de la terre, il y a 5 milliards d'années.

B / EXTRACTION DE L'URANIUM DE SON MINERAI

L'uranium à l'état naturel existe en faible teneur sous forme de pechblende, minerai de divers oxydes d'uranium, et pour l'essentiel.
B1. Quel est le degré d'oxydation de l'uranium dans ?
B2. est un oxyde mixte . Quelles y sont les proportions de chaque degré d'oxydation?
Le diagramme potentiel-pH (simplifié) de l'uranium est tracé à 298 K pour une concentration, de toute espèce soluble contenant de l'uranium, de dans son domaine de prédominance (figure C1). Les espèces prises en compte sont:
  • métal (degré d'oxydation 0),
  • ion (degré d'oxydation III),
  • ion et hydroxyde (degré d'oxydation ),
  • ion et hydroxyde (degré d'oxydation VI).
B3*a. Associer à chaque lettre du diagramme l'espèce correspondant au domaine de prédominance si elle est en solution, au domaine d'existence s'il s'agit d'un précipité ou d'un solide.
B3*b. Déterminer le produit de solubilité de .
figure C1.
B3*c. Par attaque du minerai à l'acide sulfurique en présence d'un oxydant fort tel que le chlorate de potassium ( ), l'uranium n'apparait que sous forme d'ions : expliquer pourquoi. Ecrire dans ces conditions l'équation-bilan de dissolution de . Par quelle réaction se transforme-t-il en ion ? En déduire l'équation-bilan de dissolution de .
Les impuretés présentes sous forme de cations métalliques ( ), passées en solution en même temps que l'uranium sont éliminées par précipitation sélective grâce à une solution de carbonate dont le pH est ajusté à la valeur de 8,5 .
Une solution contenant au moment de sa préparation mol. d'ions et une mol. d'acide carbonique [ ], est acidifiée de sorte que son pH soit nul ; puis le pH augmente progressivement par ajout de base forte de sorte que la dilution soit négligeable.
La figure C2 représente la variation asymptotique de log(s) en fonction du pH , s étant la concentration totale de l'uranium (VI) en solution, sous forme ou . La constante globale de formation du complexe , relative à l'équilibre: sera notée .
B4a. Préciser le pH de début de précipitation de (point A).
B4
b. Sous quelle forme prépondérante l'uranium (VI) est-il remis en solution (point B) ?
. En précipite de nouveau. Ecrire la réaction prépondérante de précipitation.
B4*d. Soit une solution contenant mol. d'ions et d'ions ainsi que des ions carbonate, dont le pH est ajusté à 8,5 . Déterminer la solubilité de l'aluminium; conclure.

C / PREPARATION DU COMBUSTIBLE NUCLEAIRE

L'attaque acide du minerai en présence de , suivie de diverses opérations de purification, débouche sur une solution aqueuse concentrée de nitrate d'uranyle . Après précipitation du nitrate, une décomposition thermique fournit le composé sous forme solide.

1 - Réaction de formation de

Dans la branche verticale d'un réacteur en forme de , l'oxyde descend par gravité et subit l'action réductrice à contre-courant d'un flux d'hydrogène provenant de la décomposition du gaz ammoniac à la température du four ( 500 K ).
C1. Ecrire l'équation-bilan de la réaction du trioxyde avec l'ammoniac .
C2*a. A l'aide des données, calculer l'enthalpie standard de réaction. Dans quel sens la température doit-elle varier à pression constante, pour favoriser la formation de ?
C2*b. Calculer de même l'entropie standard de réaction. Commenter son signe. Dans quel sens la pression doit-elle varier à température constante pour favoriser la formation de ?
C3. La réduction étant réalisée sous une pression constante bar, déterminer les pressions partielles de chaque gaz à l'équilibre.
Afin d'effectuer l'enrichissement isotopique, il est nécessaire d'obtenir l'hexafluorure d'uranium, après un passage par le tétrafluorure.

2 - Fluoruration en

Dans la seconde moitié de la branche verticale du réacteur précédent, l'oxyde rencontre une zone de fluoruration par action à contre-courant d'acide fluorhydrique gazeux à 700 K selon l'équilibre :
la pression totale étant maintenue constante, égale à 1 bar.
C4. Déterminer la constante d'équilibre ainsi que les pressions partielles des gaz à l'équilibre.
L'enthalpie standard de formation de est une fonction de la température vérifiant :
C5. Déterminer, à 700 K , la constante de dissociation de :
Cette réaction modifie-t-elle les résultats de la question précédente?
C6. Si le réacteur avait été construit en fer, ce métal aurait-il été corrodé par ce mélange gazeux, sachant que pour l'équilibre , le calcul fournit : ?
Le tétrafluorure d'uranium est ensuite oxydé en hexafluorure, par action du difluor, lequel, difficile et dangereux à stocker, est produit sur place à partir de l'électrolyse du fluorure d'hydrogène anhydre.

3 - Production du difluor

C7. Pourquoi le difluor ne peut-il pas être obtenu par électrolyse d'une solution aqueuse de fluorure de potassium?
Pour cette électrolyse en milieu non aqueux, dont la réaction globale s'écrit :
, l'électrolyte est un mélange (KF, 2 HF) solide dont la température de fusion est 348 K ; l'électrolyse est réalisée à 363 K, KF étant dissocié sous forme d'ions K et , alors que HF demeure sous forme moléculaire. La cathode est en acier et l'anode en carbone graphite. L'atmosphère qui surmonte chaque compartiment, à la pression constante de 1 bar, comporte, outre le gaz produit par l'électrolyse, de la vapeur de fluorure d'hydrogène telle que bar (constante). Cette électrolyse repose sur les mêmes principes que celle réalisée en milieu aqueux (classement des métaux par potentiel , loi de Nernst).
C8. Ecrire les deux demi-équations rédox à chaque électrode.
C9*a. Déduire de l'équilibre liquide-vapeur de , le potentiel chimique de dans l'électrolyte en fonction de et .
ééé l'enthalpie libre standard de formation de , de la température et des pressions partielles . Calculer cette enthalpie libre dans les conditions de l'électrolyse. En déduire la tension électrique minimale à appliquer pour opérer l'électrolyse.
é supérieure à la valeur que vous venez de calculer.
ééééà masse de difluor peut être obtenue au bout d'une heure, sachant que le rendement faradique s'élève à ?

4 - Transformation du tétrafluorure en hexafluorure

est finalement oxydé en par le difluor (pression totale constante de 1 bar) selon la réaction quantitative: .
Le mélange gazeux ( ) précédemment obtenu à l'anode est introduit à 523 K dans un réacteur adiabatique en présence de la quantité stoechiométrique nécessaire de .
C10. Déterminer la température maximale atteinte dans le réacteur à la suite de la réaction.
L'hexafluorure d'uranium, après enrichissement en uranium 235 (deuxième partie, PHYSIQUE) sera hydrolysé en puis réduit en solide par l'hydrogène dans un four rotatif. La poudre d' est compactée, frittée et rectifiée pour former des pastilles. Ces pastilles sont empilées dans des tubes d'alliage au zirconium (crayons), eux-mêmes assemblés pour construire le cœur du réacteur nucléaire.

DONNEES NUMERIQUES

Données numériques générales :

Masses molaires (en g. ) :
Constante des gaz parfaits :
Constante de Faraday :
Données électrochimiques : (à 298 K )
couple
0,00 1,23 1,45 2,87
Potentiels standard d'oxydoréduction
Produits de solubilité :
Constantes de formation de complexe :
Constantes d'acidité de l'acide carbonique:
Données thermodynamiques: (à ) supposées indépendantes de la température
Elément ou Composé
Enthalpie standard de formation ( ) en 0 0 0 -241,8 -46,1 -271,1 -1084,9 -1223,8 -1920,9 -2197,0
Entropie molaire standard ( ) en 130,6 191,5 202,7 188,7 192,3 173,7 77 96,1 151,7 227,6
Capacité calorifique molaire standard ( ) en 28,8 29,1 31,3 33,6 35,1 29,1 63,6 81,9 116,0 166,8
Temp. fusion ( K ) 1773 d 1233
Temp. sublimation (K) 330
Enthalpie molaire de sublimation ( ) 30,1

DEUXIEME PARTIE : ENRICHISSEMENT DE L'URANIUM PAR EFFUSION GAZEUSE

A / ETUDE DU DIFFUSEUR

  • L'unité élémentaire d'enrichissement est l'étage (figure P1) qui se compose du diffuseur contenant les barrières poreuses, d'un compresseur et d'un échangeur.
  • Les étages sont mis en série (figure P2). La partie du flux qui diffuse à travers la barrière passe à l'étage suivant; la partie qui ne passe pas est dirigée vers l'étage inférieur. Les étages sont réunis en un ensemble de 10 à 20 unités qui constituent un groupe et plusieurs groupes constituent une cascade. UF est introduit au centre de la cascade, le flux enrichi en uranium 235 est soutiré à une extrémité et le flux appauvri à l'autre.
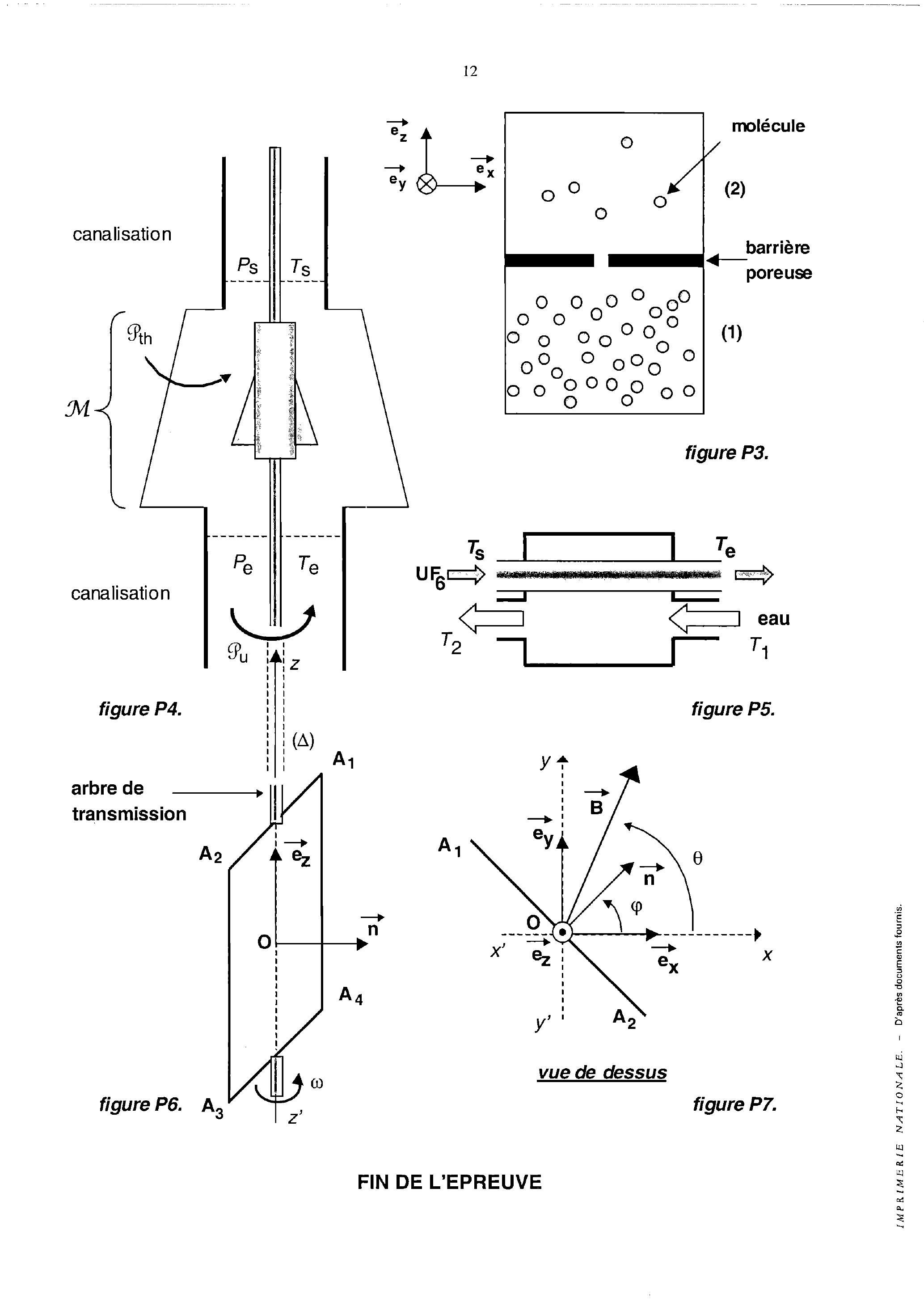
Le diffuseur est constitué de deux compartiments de même volume et maintenus à la température (figure P 3 ). Le compartiment (1) contient molécules d'un gaz parfait alors que le compartiment (2) est vide. A l'instant un très petit orifice de surface est percé entre les deux compartiments permettant ainsi le passage du gaz entre les compartiments (1) et (2) : c'est le phénomène d'effusion gazeuse.
L'espace est rapporté au trièdre de vecteurs unitaires dont est la normale au trou orientée vers le compartiment (2).
Afin d'obtenir un ordre de grandeur du phénomène, adoptons le modèle simplifié suivant :
  • le trou est petit et l'air se détend lentement en restant au repos ; tout mouvement macroscopique est négligé ;
  • et représentent le nombre de molécules occupant, à l'instant , de manière uniforme respectivement les compartiments (1) et (2) ;
  • les vitesses de toutes les molécules ne sont orientées que selon et avec une norme identique et égale à la vitesse quadratique moyenne ;
  • la répartition de ces six directions est isotrope et, statistiquement, seule la fraction 1/6 des molécules se dirige suivant avec une vitesse .
A1. Exprimer le nombre de molécules du compartiment (1) traversant la surface vers le compartiment (2) pendant la durée dt . Exprimer le nombre de molécules du compartiment (2) traversant, pendant la même durée dt, la surface vers le compartiment (1).
En déduire et en fonction de et .
A2. Etablir les expressions de et de en fonction du nombre de molécules et d'une constante de temps caractéristique du phénomène d'effusion observé.
Calculer sachant que : l'effusion s'effectue à 403 K au travers d'un pore cylindrique de rayon , chaque compartiment possède un volume et le gaz utilisé a pour masse molaire . Conclure.
A3. Déterminer le nombre de particules traversant l'orifice de surface en une seconde. L'exprimer en fonction de et , puis en fonction de et de la densité moléculaire initiale du gaz introduit dans l'enceinte.
Le compartiment (1) contient, à l'instant , deux gaz et de masses molaires et de densités moléculaires et . Dans la suite, les grandeurs associées à ces deux gaz seront respectivement indicées 5 et 8 .
A4a. Calculer le rapport des temps d'effusion . Commenter ce résultat en expliquant brièvement comment il est possible d'enrichir en un mélange de et par effusion gazeuse.
A4
b. Le taux d'enrichissement en isotope 235 se définit comme le rapport des coefficients de richesse dans le gaz diffusé et dans le gaz initial .
Exprimer ce rapport et commenter.
. Une cascade est réalisée en plaçant étages d'enrichissement en série, le gaz enrichi de l'étage alimentant l'entrée de l'étage (figure ). Déterminer le nombre de passages nécessaires à travers les parois poreuses pour arriver à la proportion finale de en isotope 235 partant d'un titre initial de . On supposera que est le taux d'enrichissement en isotope 235 de chaque étage.

B / LE COMPRESSEUR ET L'ÉCHANGEUR

Le compresseur et l'échangeur complètent l'étage de diffusion:
  • un compresseur amène à la pression requise et assure sa circulation à travers les barrières diffusantes; l'importance des débits volumiques et la recherche d'un haut rendement ont conduit au choix d'un moto compresseur axial multi-étages dont le rotor en cage d'écureuil est entraîné par un moteur électrique asynchrone;
  • un échangeur évacue la chaleur générée par la compression; il utilise de l'eau circulant à une température différence comme fluide caloporteur et une vanne de régulation permet d'adapter son débit aux besoins de refroidissement.
Etablissons une relation générale s'appliquant à la fois au compresseur et à l'échangeur thermique. Une machine (figure P4) échange avec le milieu extérieur :
  • une puissance utile (indiquée ) qui correspond à la puissance mécanique exercée par le moteur sur les parties mobiles de la machine en excluant la puissance des forces de pression au niveau des surfaces d'entrée et de sortie de ,
  • une puissance thermique .
Le fluide s'écoule en régime permanent avec un débit massique . Il entre dans à l'altitude dans les conditions de température et de pression ( ), avec une vitesse d'écoulement et sort à l'altitude avec une vitesse dans les conditions ( ). La
canalisation est isolée thermiquement et le fluide ne peut échanger de chaleur que lorsqu'il se trouve dans .
B1*a. Montrer que le premier principe de la thermodynamique appliqué à un système que vous préciserez permet d'exprimer les puissances et reçues par le fluide au moyen de sa variation d'enthalpies massiques et à l'entrée et à la sortie de :
Le fluide qui s'écoule est le gaz supposé parfait, non pesant et de variation d'énergie cinétique négligeable. et désignent ses capacités thermiques massiques à pression et à volume constants. Elles sont indépendantes de la température et de faible rapport : .
B1b. Déterminer le coefficient en fonction de et , la masse molaire du gaz.
Calculer sa valeur avec .
B1
c. Exprimer la variation d'enthalpie massique en fonction de et des températures d'entrée et de sortie . Appliquer ce résultat à l'équation [1].
La compression s'effectue de façon adiabatique et irréversible par suite de l'existence de frottements fluides internes. Le compresseur fait passer le gaz parfait de l'état ( , ) à l'état ( ) avec un débit massique de .
B2. Exprimer puis calculer la puissance fournie par le moteur en supposant qu'elle est totalement transférée au gaz.
Le gaz parfait sortant du compresseur est refroidi de façon isobare et ramené à la température dans un échangeur parfaitement calorifugé (figure ). Le fluide réfrigérant est constitué par de l'eau de capacité thermique massique qui entre à la température et sort à la température . Le régime permanent est supposé atteint, le débit massique du gaz reste inchangé et on note le débit massique de l'eau.
B3. Exprimer lorsque l'élévation de la température de l'eau est de . Effectuer l'application numérique ( ).
On se place maintenant dans une situation de fonctionnement optimal du compresseur: la compression est supposée adiabatique et réversible.
Le compresseur fait passer le gaz de l'état ( ) à l'état ( ) avec un débit massique . Le taux de compression et le débit massique sont identiques à la situation réelle, seule la température de sortie est différente.
B4a. Déterminer et la puissance du compresseur. Calculer leurs valeurs.
B4
b. Le compresseur est d'autant plus efficace qu'il se rapproche de la réversibilité. Afin d'évaluer l'écart entre la compression réelle et la compression idéalisée, exprimer le rendement isentropique du compresseur en fonction de , et . Effectuer l'application numérique.
La compression adiabatique réversible est maintenant réalisée en deux étages. Dans le premier étage le gaz est comprimé de la pression à la pression avec un taux de
compression . A la sortie de cet étage le gaz est refroidi de manière isobare dans un échangeur jusqu'à la température puis introduit et comprimé à nouveau dans le second étage de la pression à la pression avec un taux de compression . Vous utiliserez les notations suivantes:
ééé
B5a. Exprimer la puissance fournie par le compresseur aux deux étages en fonction de et .
B5
b. Pour quelles valeurs de et de cette puissance est-elle minimale ? Que vaut alors la puissance minimale fournie par le compresseur en fonction de , et ? Comparer sa valeur à la puissance obtenue dans la compression mono-étagée pour une même valeur du taux de compression global, puis conclure.
B5*c. Exprimer la puissance thermique cédée par le gaz au cours du refroidissement dans l'échangeur en fonction de .
B5d. Généraliser le résultat de la compression bi-étagée à une compression à étages et déduire la puissance minimale fournie par le compresseur en fonction de , et N . Déterminer sa limite lorsque N tend vers l'infini en fonction de et .
B5
e. Les études d'optimisation du rendement pour la production demandée en uranium enrichi ont conduit à adopter un compresseur à 8 étages. Argumenter ce choix.

C / LE MOTEUR ASYNCHRONE

Le moteur asynchrone du motocompresseur convertit l'énergie électromagnétique en énergie mécanique directement utilisable. II se compose principalement de deux parties :
  • l'inducteur ou stator est un ensemble de bobines fixes destinées à engendrer dans une zone limitée de l'espace un champ magnétique tournant . Ce champ magnétique est uniforme et de module constant , il tourne dans le plan xOy et autour de l'axe fixe avec la vitesse angulaire constante de appelée vitesse de synchronisation (figure P7),
    l'induit ou rotor est modélisé par un cadre conducteur rectangulaire de surface totale orientée suivant la normale et susceptible de tourner autour de l'axe avec une vitesse angulaire (figure P6). L'arbre de transmission colinéaire à et solidaire du rotor entraîne dans sa rotation les aubes du compresseur.
Le cadre est placé dans le champ magnétique tournant, l'axe est confondu avec l'axe Oz et les positions angulaires de et sont repérées par les angles suivants:
On choisit comme origine des temps, l'instant où et sont alignés.
C1. Calculer le flux du champ magnétique généré par le stator à travers le cadre et en déduire la force électromotrice d'induction e qui apparaît dans celui-ci en fonction du flux maximum à travers le circuit et de la vitesse angulaire de glissement .
C2. Le cadre constitue un circuit série de résistance et d'inductance propre . Ecrire l'équation différentielle vérifiée par le courant induit dans le circuit. En déduire lorsque le régime permanent est établi: on cherchera pour cela sous la forme . Préciser l'amplitude et le retard de phase de par rapport à la force électromotrice e, en exprimant .
C3. Exprimer le couple instantané agissant sur le cadre de moment magnétique et montrer que la projection de sa valeur moyenne au cours du temps sur l'axe de rotation peut se mettre sous la forme :
C4a. Etudier et représenter les variations du couple disponible sur l'axe du moteur lorsque varie de 0 à l'infini. Calculer sa valeur maximale et sa valeur minimale en fonction de et . Déterminer, pour , le couple de démarrage . Dans quelles conditions le couple est-il moteur ou au contraire résistant?
C4
b. Pour quelle valeur de , notée la valeur maximale du couple de démarrage peut-elle être obtenue ? Le moteur peut-il démarrer en charge ?
C5. La charge mécanique due à l'inertie du compresseur correspond à un couple résistant de moment - subi par le moteur. A l'aide d'un rhéostat, la résistance du circuit rotorique est réglée à . Montrer par une simple analyse graphique que, si , il existe deux points de fonctionnement du moteur ( et ) correspondant à des vitesses de rotation du rotor et (leur calcul exact, non demandé ici, fournit : et tr/min). Préciser de façon qualitative leur stabilité. Que se passe-t-il dans le cas où ?
La puissance électromagnétique fournie par le moteur est convertie en puissance mécanique é w, liée à la rotation du rotor, et en puissance thermique dissipée par effet Joule dans le cadre. On ne prend pas en compte le dispositif engendrant le champ magnétique tournant.
C6. Déduire de leurs valeurs moyennes au cours du temps et é, l'expression du rendement de la conversion électromécanique en fonction de et . Calculer sa valeur dans la situation favorable de fonctionnement du moteur. Commenter les performances du moteur asynchrone et justifier son utilisation dans la chaîne d'enrichissement de l'hexafluorure d'uranium.

Données numériques :

Constante des gaz parfaits:

On admettra la propriété d'optimisation suivante :

La somme de termes dont le produit est constant est minimale lorsque les termes sont égaux.
FIN DE L'EPREUVE