J-0
00m
00j
00h
00min
00s

Version interactive avec LaTeX compilé

E3A Physique Chimie MP 2005

Notez ce sujet en cliquant sur l'étoile
0.0(0 votes)
Logo e3a
2025_09_04_5da8b0f39718d16f7563g

CONCOURS ENSAM - ESTP - EUCLIDE - ARCHIMEDE

Epreuve de Physique - Chimie MP

durée 4 heures

L'usage de la calculatrice est autorisé

Si , au cours de l'épreuve, un candidat repère ce qui lui semble être une erreur d'énoncé, il le signale sur sa copie et poursuit sa composition en indiquant les raisons des initiatives qu'il est amené à prendre.
Ce problème traite du silicium et comporte trois parties indépendantes: élaboration et purification du silicium électronique dans une première partie, analyse des caract
éristiques du silicium obtenu en seconde partie, puis étude du comportement électrique d'une barrette de silicium photovoltaïque en troisième partie.
Remarques préliminaires importantes : Il est rappelé aux candidat(e)s que :
< les explications des phénomènes étudiés interviennent dans la notation au même titre que les calculs.
< les résultats exprimés sans unité ne seront pas comptabilisés.
< dans tous les calculs, les gaz sont assimilés à des gaz parfaits (leurs pressions partielles sont notées en caractères italiques) et les phases solides sont considérées comme non miscibles. Les indices suivants : (s) solide ; (liq) liquide ; (g) gaz seront utilisés.
< les données numériques générales, ainsi que les figures sont répertoriées à la fin du problème.
Le silicium est utilisé à raison de 65 % en métallurgie sous forme d'alliages (ferrosilicium, alliages AI-Si), en chimie organique (préparation des silicones) et en électronique (obtention des semi-conducteurs).
Selon les utilisations, la pureté exigée pour cet élément varie énormément, de 1 à d'impuretés en métallurgie, 0,01 à en chimie organique, à pour le silicium photovoltaïque, à pour le silicium électronique. Pour ces deux dernières applications, il conviendra de procéder à une purification très poussée.

PREMIERE PARTIE

OBTENTION DU SILICIUM ELECTRONIQUE

A1/Elaboration du silicium métallurgique

Le silicium est extrait d'une variété pure de silice , le quartzite. La formation de silice par la relation : , est une réaction très exothermique, comme le montrent les expressions des enthalpies libres standard établies selon les domaines de température, en se plaçant dans les conditions de l'approximation d'Ellingham :
La réduction de la silice est donc très difficile (les réducteurs industriels gazeux tels que ou CO sont insuffisants) et nécessite l'emploi d'un métal très électropositif (Al) ou du carbone (carbothermie).
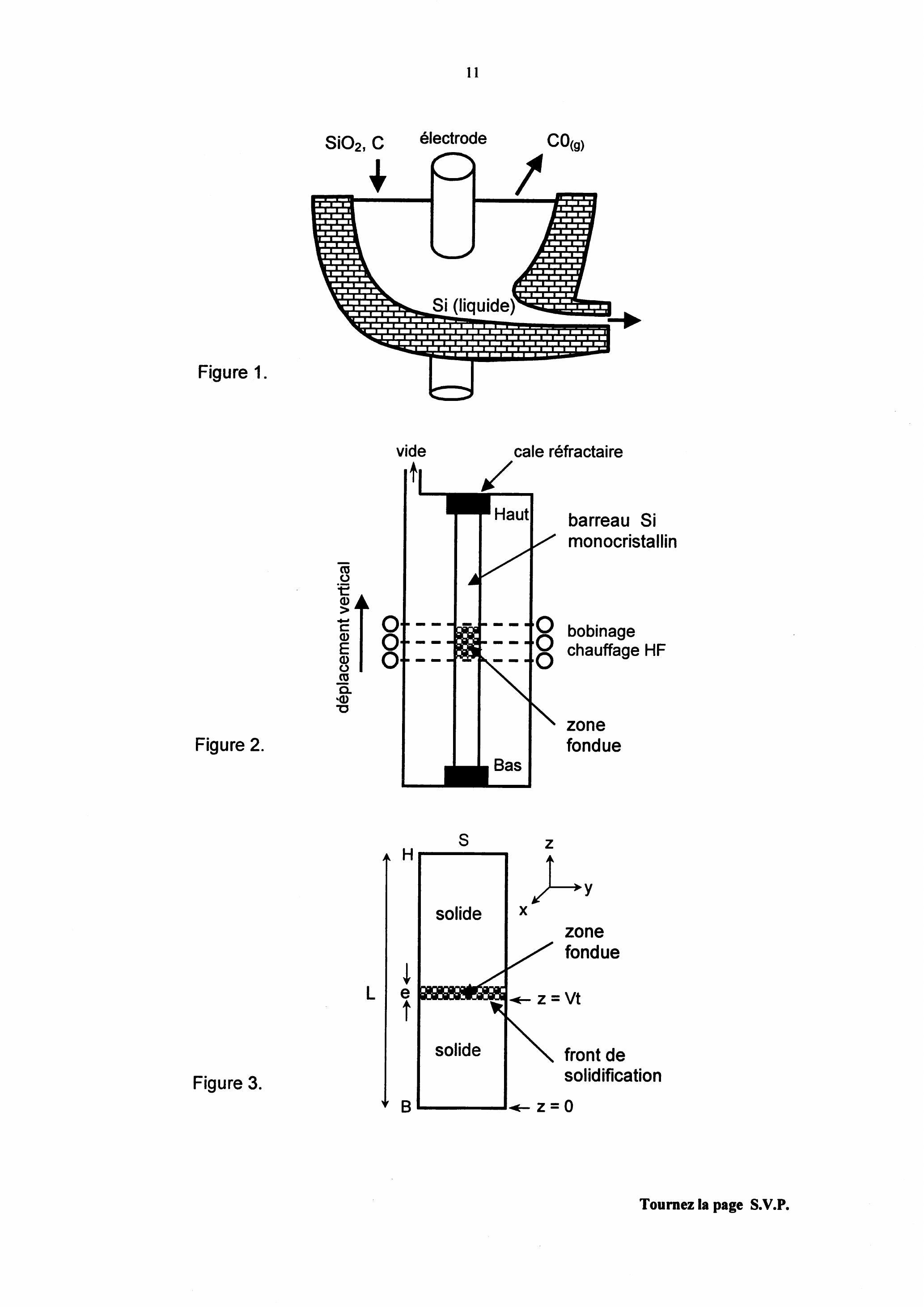
Dans la pratique, la silice (poudre) est introduite avec du carbone graphite (coke finement broyé et copeaux de bois) dans un four électrique à arc (électrodes de graphite) comme le montre la figure 1. Au centre du four règne une température de l'ordre de 2000 ; à la surface du bain se dégage du monoxyde de carbone CO et dans le fond du four s'écoule le silicium fondu.
A1*a Pour quelle raison utilise-t-on des matériaux finement divisés dans le mélange réactionnel ? Pourquoi les électrodes sont-elles en graphite ?
A1*b. Déterminer l'expression de l'enthalpie libre standard de la réaction d'oxydation du carbone: .
A1*c. Ecrire l'équation-bilan de réduction de la silice par le carbone (notée R3), en précisant les états physiques des différents constituants. En déduire l'enthalpie libre standard de réaction notée .
A1*d. En considérant que les constituants sont à l'équilibre thermodynamique et en supposant les phases liquides non miscibles, déterminer le nombre de paramètres intensifs indépendants nécessaires pour décrire le système. Que peut-on en conclure ?
A1*e. Quelle est la température d'inversion de la réaction (R3) ? Ce résultat est-il compatible avec les conditions opératoires décrites auparavant?
La température de réduction de la silice peut être abaissée, en ne travaillant plus à la pression atmosphérique mais à pression réduite.
A1*f. Dans ces conditions, exprimer l'affinité chimique ; quelle est alors l'influence d'une diminution de la pression totale ? (justifier votre réponse)
A1*g. Les fours modernes travaillent sous vide partiel à 1573 K . A cette température, calculer la valeur de . Exprimer puis calculer la pression maximale régnant dans le four pour que la réduction de la silice puisse s'opérer.
La réaction de réduction de la silice est parasitée par la réaction de formation du carbure de silicium (carborundum) :
A1*h. En utilisant l'expression précédemment obtenue pour , évaluer l'enthalpie libre standard de cette réaction puis son affinité chimique à la température d'inversion de la réaction (R3), sous une pression bar. Conclure.
A1*i. Sous quelle pression faudrait-il opérer pour éviter toute formation de SiC, la température du réacteur étant fixée à 1573 K ?
Le silicium liquide obtenu est coulé en lingots ; sa pureté (de l'ordre de 98 %) lui permet seulement d'être utilisé en métallurgie (Metallurgical Grade Silicon).

A2/Purification chimique

La purification est basée sur l'oxydation, à 573 K, sous pression atmosphérique, du silicium impur par le dichlore (très pur) :
, réaction pour laquelle les tables fournissent: , entre 330 K et 1680 K .
A2*a. Calculer la constante d'équilibre de cette réaction à 573 K . La réaction est-elle totale?
A2*b. Quelle est l'influence d'une élévation de température sur le déplacement de cette réaction ? Peut-on jouer sur la pression pour favoriser l'oxydation du silicium?
Les impuretés (telles que ou ) présentes dans le silicium de départ, peuvent être inertes vis à vis du dichlore (cas de Al et Fe), ou donner des chlorures qui passent en phase gazeuse. Le tableau ci-dessous fournit les températures d'ébullition de et de quelques chlorures :
chlorure
bar 330 435 403 286 474 873
A2*c. Proposer une technique chimique simple permettant d'éliminer la plupart des impuretés présentes (justifier votre réponse).
La régénération du silicium liquide est réalisée par réduction de par le dihydrogène gazeux à 1773 K (sous 1 bar) dans un tube chaud réfractaire :
é
A2*d. Justifier le choix de cette température élevée et calculer l'enthalpie libre standard à 1773 K . La réaction est-elle totale à cette température?
A2*e. Est-il judicieux de réaliser cette réduction sous pression réduite (justifier votre réponse) ?
Cette méthode conduit à du silicium contenant de à d'impuretés, niveau insuffisant pour les besoins de l'électronique ; il faut donc recourir à une purification physique.

A 3 / Purification physique par fusion de zone

La première étape (non développée ici) consiste à fondre le silicium purifié chimiquement dans un creuset en silice hyperpure, à 1700 K , sous une atmosphère inerte d'argon. Un germe de silicium monocristallin orienté est introduit dans le silicium liquide puis tiré à faible vitesse ( 0,4 à ) ; simultanément le creuset et le support du germe sont animés de mouvements de rotation de sens contraire. Peuvent ainsi être obtenus des barreaux de silicium ( 1 m de longueur, 20 cm de diamètre) qui vont être soumis à une purification par fusion de zone.
Décrivons cette technique dite de fusion de zone : un barreau de silicium monocristallin à purifier, de longueur et de section droite , est maintenu verticalement dans une enceinte où règne le vide (figures 2 et 3). Le lent déplacement (de bas en haut, à vitesse uniforme) d'une bobine d'induction haute fréquence permet, par création de courants de Foucault, la fusion locale d'une très mince hauteur e de silicium.
Des considérations thermodynamiques permettent d'établir que, dans le cas d'un alliage entre un corps pur (Si) et une impureté (de fraction molaire très faible), la phase liquide contient plus d'impuretés que la phase solide en équilibre avec elle (l'impureté étant plus soluble dans le silicium liquide que dans le silicium solide).

Considérons par exemple les impuretés de bore B dans le silicium.

En phase liquide (zone fondue), la diffusion unidirectionnelle de , de concentration est régie par la première loi de Fick ; celle-ci est comparable à la loi de Fourier en diffusion thermique et s'écrit parallèlement à : ; j est la densité de flux d'impuretés B diffusée dans cette phase et D le coefficient de diffusion dans le silicium liquide, ce coefficient étant supposé indépendant de la concentration.
En phase solide, la diffusion des impuretés B est négligée car elle y est beaucoup plus lente et les impuretés gardent une concentration uniforme .
A mesure que la bobine inductive se déplace du bas vers le haut le long du barreau à la vitesse constante V, le front de solidification du système (Si + B) se déplace également à cette vitesse. A cette interface, d'ordonnée , la condition d'équilibre s'écrit : étant un coefficient constant, supérieur à l'unité.
Dans le référentiel absolu , la concentration en bore dans la phase liquide vérifie l'équation aux dérivées partielles suivante, dite è loi de Fick et homologue de l'équation de la chaleur:
A3*a. En réalisant le changement de variable et , réécrire la deuxième loi de Fick (notée E8) dans le référentiel mobile de la zone fondue entraîné par le front de solidification.
A3*b. Résoudre l'équation différentielle obtenue dès lors que le régime stationnaire est atteint dans le référentiel . Mettre en évidence une distance caractéristique du problème et préciser son sens physique. Sachant que et , calculer cette valeur de . Conclure quant à la répartition de dans la zone fondue.
A l'instant , la concentration en impuretés est uniforme dans tout le barreau: .
A un instant ultérieur, la situation peut se schématiser comme suit : au-dessus de la zone fondue, on a toujours ; en un point d'ordonnée z audessous de la zone fondue, où varie avec , la situation se trouve figée à l'instant où le liquide se solidifie et se traduit par la condition d'équilibre suivante :
A3*c. Réaliser le bilan des impuretés B dans le barreau, en se plaçant dans le cas favorable où l'épaisseur e est très inférieure à , mais très supérieure à la distance . Montrer que ce bilan se traduit par la relation suivante:
A3*d. En dérivant la relation précédente par rapport au temps puis en utilisant la condition d'équilibre à l'interface, écrire l'équation différentielle dont est solution. En déduire l'expression de en mettant en évidence un temps caractéristique du phénomène.
A3*e. Calculer le temps maximum nécessaire pour appauvrir la phase solide de ses impuretés sachant que et . Comparer les temps et . Conclure et représenter dans l'intervalle [ ].
A3*f. Le barreau contenant initialement 40 ppm de bore, d'antimoine et d'indium [1 ppm correspond à un atome d'impureté pour atomes], évaluer (en ppm) les concentrations en impuretés respectives à l'extrémité supérieure ( ) du barreau, à l'issue du premier passage de la bobine haute fréquence, sachant que et .
A3*g. Grâce à la condition d'équilibre, déterminer l'expression de la concentration en bore en phase solide en fonction de , après un passage de la bobine haute fréquence de bas en haut le long du barreau, ainsi que celle de ; tracer ses variations en fonction de .
Calculer numériquement les concentrations en bore, antimoine et indium dans la partie basse du barreau ( ) à la fin de la première passe.
A3*h. Discuter du nombre d'opérations unitaires nécessaires à la purification du silicium en considérant successivement chacune de ces impuretés.
A3*i. Mettre en évidence à la lumière de ces résultats un inconvénient à cette technique et proposer une solution simple pour y remédier.

DEUXIEME PARTIE

ANALYSE DES CARACTERISTIQUES DU SILICIUM OBTENU

B 1 / Structure et conductivité du silicium pur

Le silicium pur possède une structure cristalline de type cubique, analogue à celle du carbone diamant, les centres de deux atomes au contact étant de distants de d = 234 pm.
B1*a. Décrire cette structure. Représenter la maille élémentaire en vue perspective et matérialiser la liaison .
B1*b. Evaluer le paramètre a de cette maille. Déterminer le nombre d'atomes de silicium par maille élémentaire ; en déduire le nombre d'atomes par et la masse volumique du silicium.
A 300 K , la conductivité électrique intrinsèque du silicium pur vaut , alors que celle du diamant s'élève à et celle du cuivre à .
B1*C. Comparer ces valeurs et préciser la nature de la liaison qui règne dans ces matériaux.
Considérons un milieu conducteur homogène dans lequel coexistent deux types de porteurs de charge régulièrement répartis : des porteurs de charge positive , à raison de porteurs par et des porteurs de charge négative - à raison de porteurs par . Si est la vitesse moyenne d'un porteur de charge soumis à un champ électrique , la mobilité d'un porteur est définie par selon la nature du porteur.
B1*d. Exprimer la densité de courant en un point quelconque de ce milieu homogène soumis à un champ électrique uniforme d'intensité ; en déduire l'expression de la conductivité de ce milieu en fonction de , p et des mobilités et associées aux deux types de porteurs.
Dans le silicium à l'état pur, le phénomène de conduction est dû̀ à la fois à la présence de électrons par et de porteurs positifs par .
B1*e. Déterminer la valeur du nombre de porteurs , sachant que :
et .

B 2 / Réalisation de semi-conducteurs de type et

Pour réaliser du silicium de "type N", du phosphore est incorporé à du silicium pur, à raison de atomes de phosphore par de silicium ; parallèlement, pour réaliser du silicium de "type P", du bore est incorporé à raison de atomes de bore par . Les atomes de phosphore ou de bore sont régulièrement répartis dans le cristal de silicium.
B2*a. Déterminer, pour un volume donné de silicium de type , le rapport du nombre d'atomes de silicium au nombre d'atomes de phosphore.
B2*b. Calculer la masse de phosphore à incorporer à 1 kg de silicium pour obtenir la concentration indiquée pour le silicium de type N .
B2*c. Calculer la conductivité du silicium de type en considérant que la conduction est due uniquement à la présence de électrons par (charge -q et mobilité ).
B2*d. Calculer la conductivité du silicium de type en considérant que la conduction est due uniquement à la présence de électrons par (charge -q et mobilité ).
B2*e. Comparer ces conductivités et à la conductivité intrinsèque . Conclure.

B 3 / Modélisation d'une jonction P-N

Associons dans un barreau de section constante S (figure 4) du silicium de type ( ) et du silicium de type , et adoptons les hypothèses suivantes:
  • aucune différence de potentiel extérieure n'est appliquée au système, supposé au repos et à la température ambiante ( 300 K ),
  • tous les atomes de phosphore du silicium ont libéré un électron pour devenir des ions (de densité volumique ), alors que tous les atomes de bore du silicium ont capté un électron pour devenir des ions (de densité volumique ),
  • à l'intérieur d'une zone dite de transition, limitée par les abscisses et , ne subsistent que les ions liés au réseau cristallin, tous les porteurs mobiles ayant disparu,
  • à l'extérieur de cette zone, coexistent des ions fixes et des porteurs mobiles régulièrement répartis afin que la densité totale de charge y soit nulle,
  • à l'intérieur du barreau, le milieu est considéré linéaire et homogène, de permittivité (se substituant à celle du vide ) avec et .
B3*a. Justifier la valeur constante des potentiels dans la zone et dans la zone à l'extérieur de la zone de transition.
B3*b. Préciser les valeurs de la densité volumique de charge dans les différentes régions du barreau et représenter les variations de avec l'abscisse x.
En déduire l'existence d'une polarisation de la jonction. Etablir la relation liant et .
B3*c. Justifier la continuité de et de pour et . Etudier la répartition du potentiel et du champ électrique à l'intérieur de la zone de transition en distinguant les deux parties de cette zone. Représenter leurs variations en fonction de l'abscisse x, pour l'ensemble du barreau.
La condition de raccordement par continuité du potentiel V en x conduit aux expressions suivantes pour et :
B3*d. Calculer numériquement et sachant que . Conclure.

TROISIEME PARTIE

ETUDE D'UNE PHOTOPILE SOLAIRE

L'une des applications du silicium de qualité électronique est la réalisation de cellules photovoltaïques ou photopiles solaires qui, associées sous forme de panneaux, permettent une transformation directe d'une énergie électromagnétique (rayonnement solaire) en énergie électrique de type continu directement utilisable.
Ce capteur est constitué d'une jonction semi-conductrice de type P-N.

C 1 / Caractéristique électrique d'une photopile

Une jonction P-N, polarisée par une tension V, possède une caractéristique courant-tension satisfaisant à l'équation :
étant le courant de saturation (ou courant d'obscurité des porteurs minoritaires), k la constante de Boltzmann et T la température. Si la surface supérieure du capteur d'aire est soumise à un flux lumineux (figure 5), on observe la création de paires électrons-trous dans la zone de transition ( ) induisant un courant électrique inverse (appelé photocourant ) qui circule de vers . La caractéristique de la photodiode éclairée est alors modélisée par l'expression :
& est la puissance lumineuse reçue par unité de surface et un coefficient regroupant l'influence des pertes par réflexion, par absorption dans le silicium et du taux de génération des paires électron-trou.
La figure 6 montre cette caractéristique, sans éclairement, puis sous différents éclairements d'intensité croissante. Selon le quadrant de fonctionnement du dispositif, la photodiode est utilisée comme détecteur ou comme générateur de courant.

Données relatives au comportement électrique de la photopile:

C1*a. Calculer le photocourant pour une puissance de .
Préciser dans quel quadrant ( à , figure 6) la diode peut fonctionner en mode photovoltaïque. Retrouver, à l'aide de ce graphique, le résultat du calcul précédent.
C1*b. Déterminer, en circuit ouvert, la tension de sortie notée ; préciser puis calculer sa valeur limite si ; quelle puissance électrique le dispositif peut-il fournir à l'extérieur?
Si la photopile est en court-circuit, que vaut le courant de court-circuit noté ? Quelle est alors la puissance électrique fournie?
Une résistance de charge étant placée aux bornes de la cellule, l'utilisation optimale du dispositif consiste à faire fonctionner cette charge sous une tension maximale et une intensité maximale .
C1*d. Reproduire sur un schéma le tracé de la caractéristique de la photodiode (figure 6) pour une puissance de , en prenant comme sens positif du courant celui du courant débité par la photopile).
Déterminer et calculer et associés à une puissance électrique maximale .
Positionner les points associés à ces grandeurs, puis trouver la résistance de charge optimale .
Le rendement de conversion de la cellule est défini comme le rapport de la puissance maximale pouvant être extraite, à la puissance du rayonnement incident sur la surface de la cellule.
Ecrire et calculer ce rendement ; analyser le résultat obtenu.

C2/Capteur solaire

Pour augmenter les performances de ce dispositif, on associe en série et en parallèle, respectivement et cellules rigoureusement identiques à celle étudiée.
C2a. Déterminer l'évolution de la caractéristique courant-tension résultant de l'association série, de l'association parallèle, puis de leur combinaison ? En déduire les valeurs et en découlent pour et .
Tracer la nouvelle caractéristique ue fonctionnement de cette association.
C2
b. Le capteur solaire étant couplé à un ventilateur (assimilé à une résistance de ), tracer sur ce dernier schéma la caractéristique de ce ventilateur et préciser le point de fonctionnement; évaluer la puissance reçue par le ventilateur. Reprendre la même étude dans le cas où la résistance du ventilateur ne vaut que et conclure qualitativement.
C2*c. Que se serait-il passé si la photopile n'alimentait plus un récepteur mais une batterie?

DONNEES NUMERIQUES

On notera Ln , le logarithme népérien et log, le logarithme décimal.

Données numériques générales :

Masses molaires (en g.mol ) :
Constante des gaz parfaits :
Nombre d'Avogadro:
Constante de Boltzmann : J.
Charge élémentaire: .

Données thermodynamiques :

Elément ou composé Enthalpie standard de formation à 298 K ( ) en kJ.mol Entropie molaire standard à 298 K ( ) en J.K .mol Température de fusion ( ) en Température d'ébullition ( ) en K Enthalpie standard de fusion à ( ) en kJ.mol Enthalpie standard d'ébullition à ( ) en
Si(s) 0 18,8 1683 2628 46 297
- 910,9 41,8 1883 2503 8,5
SiC(s) - 65,3 16,4 2773
-697 330,6 331 7,7 29,3
0 205,2
0 5,7 3950(sub)
CO(g) -110,5 197,7
- 393,5 213,8
0 130,6
0 223
- 92,3 186,8
Figure 1.
Figure 2.
Figure 3.
Figure 4.
Figure 5.