Version interactive avec LaTeX compilé
Les calculatrices sont interdites.
NB. : Le candidat attachera la plus grande importance à la clarté, à la précision et à la concision de la rédaction.
Si un candidat est amené à repérer ce qui peut lui sembler être une erreur d'énoncé, il le signalera sur sa copie et devra poursuivre sa composition en expliquant les raisons des initiatives qu'il a été amené à prendre.
Si un candidat est amené à repérer ce qui peut lui sembler être une erreur d'énoncé, il le signalera sur sa copie et devra poursuivre sa composition en expliquant les raisons des initiatives qu'il a été amené à prendre.
Ce sujet comporte deux problèmes qui pourront être traités séparément.
Le candidat est invité à remarquer que ces deux problèmes sont de longueur inégale, le second problème étant deux fois plus long que le premier.
Le candidat est invité à remarquer que ces deux problèmes sont de longueur inégale, le second problème étant deux fois plus long que le premier.
Problème
: Etude du mouvement d'une barre
Dans ce problème, les vecteurs sont notés en caractères gras
partie : Champ magnétique créé par un circuit triangulaire
Le but de cette partie est de calculer le champ magnétique au centre d'un triangle équilatéral parcouru par un courant I. Les fils d'alimentation du courant I ne sont pas représentés et leur influence est négligée.
- Soit un segment de fil rectiligne conducteur de longueur finie OA suivant
, parcouru par un courant I dont le sens est représenté figure 1.
a) Pourquoi ne peut-on pas appliquer le théorème d'Ampère au segment OA ?
b) En utilisant la loi de Biot et Savart, calculer le champ magnétiqueen un point créé par ce fil. On donnera le résultat sous sa forme la plus simple, fonction d'un vecteur unitaire, de I, et où est la perméabilité du vide, et les angles représentés sur la figure 1 . - Déduire de l'expression précédente le champ magnétique
créé par un fil de longueur infinie en fonction de et d'un vecteur unitaire. - Dans le cas d'un fil de longueur infinie, retrouver le résultat de la question 2 en utilisant des considérations de symétrie, puis en appliquant le théorème d'Ampère à un contour judicieusement choisi.
- Déduire de la question 1. le champ magnétique
créé au centre C d'un triangle équilatéral de côté AB , parcouru par un courant I dont le sens est représenté figure 2 . On donnera le résultat en fonction de et d'un vecteur unitaire.

Figure 1

Figure 3

Figure 2
2ème partie: Phénomènes d'induction
Deux rails OA et OB , filiformes, fixes, de longueur commune
, sont placés dans le plan horizontal ( xOy ) de la figure 3 selon un angle de
. L'ensemble AOB formé par les 2 rails est supposé conducteur.
Une barre filiforme MN , de masse m , se déplace sans frottement sur les rails d'un mouvement de translation parallèle à , à la vitesse constante
, imposée par l'opérateur. La position de son centre d'inertie est notée
.
Les 2 rails et la barre ont la même résistivité linéique .
L'ensemble du dispositif est plongé dans un champ magnétique extérieur avec
. On négligera l'influence du champ magnétique créé par le circuit lui-même.
5. On considère le déplacement de la barre MN entre AB et O .
a) Déterminer la résistance du circuit en fonction de et
.
b) Déterminer le flux de à travers le circuit en fonction de
et y .
c) En déduire la force électromotrice induite dans le circuit en fonction de , et y .
d) En écrivant l'équation électrique du circuit fermé ainsi formé, en déduire le courant I induit dans le circuit en fonction de , et
. I sera compté positivement s'il est dans le sens représenté sur la figure 3.
6.
a) Déterminer la force de Laplace s'exerçant sur la barre MN en fonction de
, et y .
b) En déduire la force que doit exercer l'opérateur pour maintenir
constante.
7. Calculer la puissance de cette force, puis la puissance dissipée par effet Joule. Que peut-on en conclure?
8. La barre partant de , l'opérateur déplace la barre à la vitesse
jusqu'à
puis la laisse ensuite évoluer librement à partir de
. Déterminer l'équation différentielle reliant un temps
à la position y du centre de la barre en fonction de
.
Une barre filiforme MN , de masse m , se déplace sans frottement sur les rails d'un mouvement de translation parallèle à
Les 2 rails et la barre ont la même résistivité linéique
L'ensemble du dispositif est plongé dans un champ magnétique extérieur
5. On considère le déplacement de la barre MN entre AB et O .
a) Déterminer la résistance du circuit en fonction de
b) Déterminer le flux de
c) En déduire la force électromotrice induite dans le circuit en fonction de
d) En écrivant l'équation électrique du circuit fermé ainsi formé, en déduire le courant I induit dans le circuit en fonction de
6.
a) Déterminer la force de Laplace
b) En déduire la force
7. Calculer la puissance de cette force, puis la puissance dissipée par effet Joule. Que peut-on en conclure?
8. La barre partant de
Problème
: Thermodynamique Transformations réversibles et irréversibles
Les parties 2 et 3 sont indépendantes.
1. Questions de cours
1.1. Donner la définition d'un système fermé.
Pour un système thermodynamique fermé, énoncer le second principe de la thermodynamique. On rappellera notamment le bilan entropique liant la variation d'entropie
du système fermé à l'entropie reçue
et la production d'entropie
.
Toute équation devra être accompagnée d'une explication.
1.2. Bilans entropiques particuliers
1.2.1. Donner la définition d'un système isolé.
Toute équation devra être accompagnée d'une explication.
1.2. Bilans entropiques particuliers
1.2.1. Donner la définition d'un système isolé.
Que devient le bilan entropique du 1.1. dans le cas d'un système isolé ?
1.2.2. Donner la définition d'un système stationnaire.
1.2.2. Donner la définition d'un système stationnaire.
Que devient le bilan entropique dans le cas d'un système stationnaire?
1.3. Donner deux exemples de causes d'irréversibilité.
1.4. Dans les questions suivantes, on notera la quantité de matière de gaz parfait,
la constante des gaz parfaits,
la capacité thermique à pression constante des
moles de gaz,
la capacité thermique à volume constant des
moles de gaz, et
le rapport des capacités thermiques à pression et volume constants. On supposera que
et
sont indépendants de la température
. On s'attachera à soigner les explications.
1.4.1. Exprimer la variation d'énergie interne d'un gaz parfait en fonction de la variation de la température.
1.4.2. Exprimer la variation d'entropie d'un gaz parfait en fonction des variations de température et de volume.
1.4.3. Dans le cas d'un gaz parfait, donner la relation entre et
. Quel est le nom donné à cette relation?
1.4.4. Exprimer et
en fonction de
et
.
1.3. Donner deux exemples de causes d'irréversibilité.
1.4. Dans les questions suivantes, on notera
1.4.1. Exprimer la variation d'énergie interne d'un gaz parfait en fonction de la variation de la température.
1.4.2. Exprimer la variation d'entropie d'un gaz parfait en fonction des variations de température et de volume.
1.4.3. Dans le cas d'un gaz parfait, donner la relation entre
1.4.4. Exprimer
2. Compression d'un gaz parfait
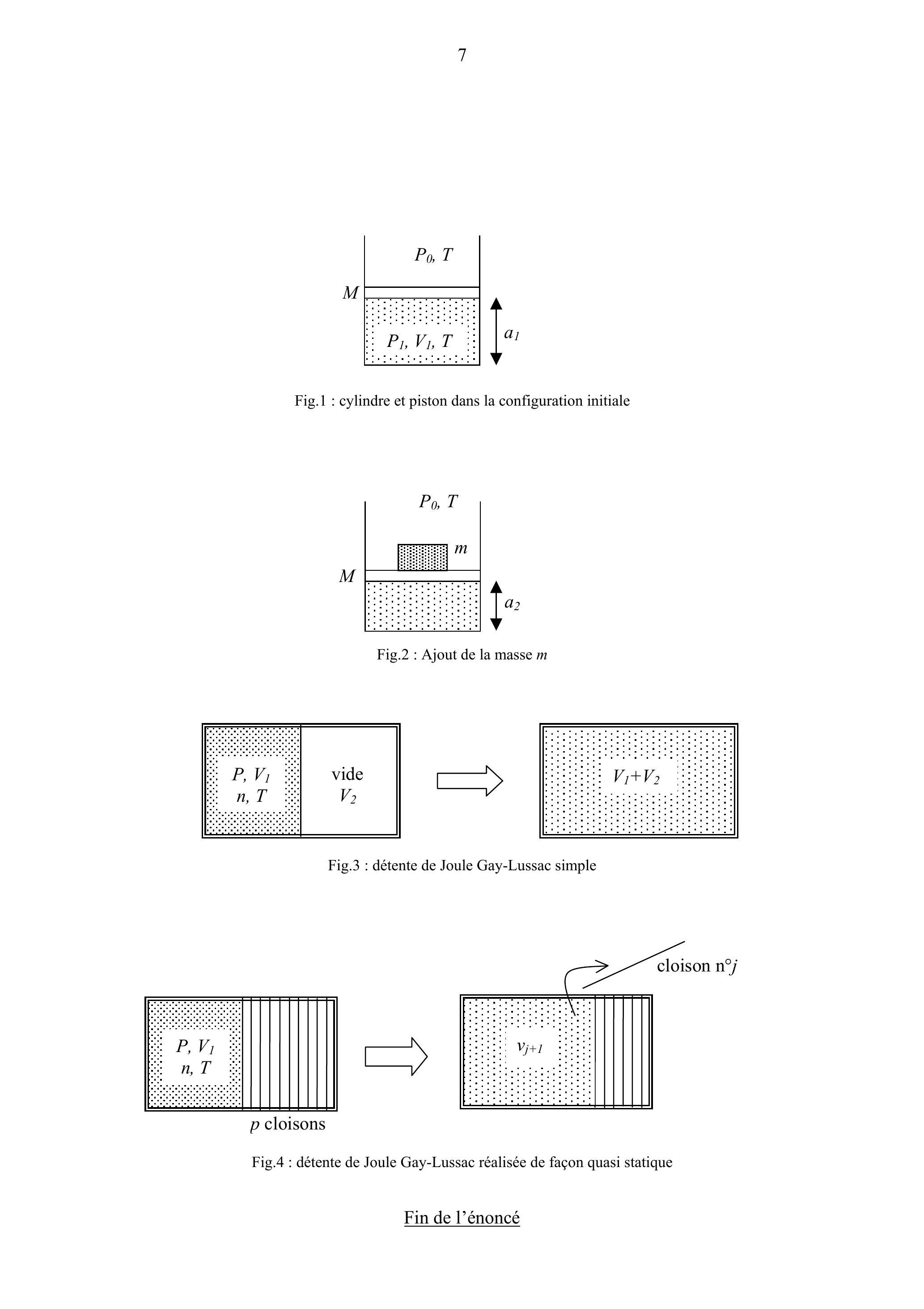
Un cylindre circulaire d'axe vertical et de section
est fermé par un piston de masse
. Pour traiter l'aspect thermodynamique de ce problème, on négligera les frottements du piston sur le cylindre ( NB : ces frottements existent néanmoins et permettent d'atteindre l'état d'équilibre mécanique). On introduit dans le cylindre à température ambiante
une quantité d'azote
telle que le plan inférieur du piston soit, à l'équilibre, à une distance
du fond (fig.1).
On notera la pression atmosphérique et on assimilera l'azote à un gaz parfait diatomique.
2.1. En étudiant l'équilibre du piston, donner l'expression de la pression à l'intérieur du cylindre en fonction de
, et l'accélération de la pesanteur
.
On notera
2.1. En étudiant l'équilibre du piston, donner l'expression de la pression
On ajoute dorénavant une surcharge de masse
sur le piston (fig.2).
2.2. On suppose dans cette question que le nouvel équilibre mécanique est atteint avant que tout échange de chaleur n'ait eu lieu avec l'extérieur.
2.2.1. Exprimer la pression dans le cylindre en fonction de
et
.
2.2.2. Déterminer le travail des forces de pression atmosphérique exercées sur le piston et transmises intégralement au gaz en fonction de et de la variation de volume du gaz dans le cylindre.
2.2.3. Déterminer le travail de pesanteur de l'ensemble {piston + surcharge} en fonction de et
et de la variation de volume du gaz dans le cylindre.
2.2.4. En appelant la température juste après l'équilibre mécanique et avant tout échange thermique, appliquer le premier principe de la thermodynamique au système fermé du gaz parfait et exprimer la nouvelle hauteur du piston
en fonction de
et
.
2.2.5. En déduire alors en fonction de
et
.
2.3. On suppose maintenant que l'équilibre thermique s'est établi avec l'extérieur.
2.2. On suppose dans cette question que le nouvel équilibre mécanique est atteint avant que tout échange de chaleur n'ait eu lieu avec l'extérieur.
2.2.1. Exprimer la pression
2.2.2. Déterminer le travail des forces de pression atmosphérique exercées sur le piston et transmises intégralement au gaz en fonction de
2.2.3. Déterminer le travail de pesanteur de l'ensemble {piston + surcharge} en fonction de
2.2.4. En appelant
2.2.5. En déduire alors
2.3. On suppose maintenant que l'équilibre thermique s'est établi avec l'extérieur.
Exprimer la pression
à l'intérieur du cylindre en fonction de
et
.
Exprimer ensuite la nouvelle position d'équilibre du piston en fonction de
et
, puis en fonction de
et
.
2.4. Quelle est la relation entre la quantité de chaleur et le travail
mis en jeu lors de l'ensemble de la transformation subie par le gaz ?
Donner l'expression du travail . En déduire l'expression de la quantité de chaleur
en fonction de
et
, puis en fonction de
et
, toujours sur l'ensemble de la transformation.
2.5. On souhaite ici calculer les variations d'entropie sur l'ensemble de la transformation.
2.5.1. L'atmosphère extérieure ayant en permanence une température égale à , quel nom peut-on lui donner? En déduire l'expression de l'entropie reçue par l'extérieur. Exprimer la variation d'entropie de l'extérieur
en fonction de
et
.
2.5.2. Quelle est l'entropie reçue par le gaz parfait dans le cylindre ? En utilisant la question 1.4.2, exprimer la variation d'entropie totale du gaz parfait dans le cylindre en fonction de
,
et
.
2.5.3. En déduire la variation d'entropie de l'univers . En posant
, montrer que
.
2.5.4. La transformation est-elle réversible? Justifier la réponse.
2.6. On veut rendre cette fois-ci la transformation quasi statique, en ajoutant la surcharge de masse progressivement: on dépose successivement
masses identiques
très petites, en attendant à chaque fois que les équilibres thermique et mécanique s'établissent avant d'ajouter la petite masse suivante. On passe ainsi par une suite d'états d'équilibre thermodynamique.
Exprimer ensuite la nouvelle position d'équilibre du piston
2.4. Quelle est la relation entre la quantité de chaleur
Donner l'expression du travail
2.5. On souhaite ici calculer les variations d'entropie sur l'ensemble de la transformation.
2.5.1. L'atmosphère extérieure ayant en permanence une température égale à
2.5.2. Quelle est l'entropie reçue par le gaz parfait dans le cylindre ? En utilisant la question 1.4.2, exprimer la variation d'entropie totale du gaz parfait dans le cylindre
2.5.3. En déduire la variation d'entropie de l'univers
2.5.4. La transformation est-elle réversible? Justifier la réponse.
2.6. On veut rendre cette fois-ci la transformation quasi statique, en ajoutant la surcharge de masse
Lorsqu'on dépose la jième masse
masses
sont déjà sur le piston. On posera
, et on notera que si
est grand,
«
.
2.6.1. Exprimer la variation d'entropie de l'univers correspondant à l'ajout de la
petite masse
, alors que
masses sont déjà posées. Faire un développement limité au second ordre de
sur la variable
.
2.6.2. Exprimer sous la forme d'une somme la variation d'entropie de l'univers correspondant à l'ajout de toutes les petites masses.
En remarquant que , montrer que l'on peut majorer la variation totale d'entropie de l'univers par
.
2.6.3. Que devient la variation d'entropie lorsque tend vers l'infini? A-t-on rendu la transformation réversible en travaillant de façon quasi statique?
2.6.1. Exprimer la variation d'entropie de l'univers
2.6.2. Exprimer sous la forme d'une somme la variation d'entropie de l'univers correspondant à l'ajout de toutes les petites masses.
En remarquant que
2.6.3. Que devient la variation d'entropie lorsque
3. Irréversibilité de la détente de Joule-Gay Lussac
3.1. Détente de Joule-Gay Lussac
On considère un récipient ayant des parois rigides et adiabatiques. Il est composé de deux compartiments de volume
et
séparés par une cloison. On introduit
moles de gaz parfait à la température
dans un des deux compartiments. Le deuxième compartiment est vide (fig.3). Lorsqu'on enlève la cloison séparant les deux compartiments, le gaz se répand dans tout le volume. On supposera que le travail fourni pour enlever la cloison est négligeable.
3.1.1. Quel est le travail reçu par le gaz parfait au cours de la détente ?
3.1.2. Montrer que l'énergie interne du gaz est constante au cours de la détente.
3.1.3. En déduire que la température du gaz ne change pas au cours de la détente.
3.1.4. En utilisant la question 1.4.2., calculer la variation d'entropie du gaz au cours de la détente en fonction de et
.
3.1.5. Que vaut l'entropie reçue par le gaz ? Que vaut l'entropie produite par le gaz
? La transformation subie par le gaz est-elle réversible?
3.2. On opère cette fois-ci de façon quasi statique à l'aide d'un récipient comportant compartiments,
étant très grand devant 1 . Le premier compartiment contenant initialement le gaz a toujours le même volume
. Le reste du récipient de volume
est subdivisé en
petits compartiments de volumes
séparés par des cloisons (fig.4).
On souhaite procéder en augmentant le volume occupé par le gaz par petites quantités . On enlève pour cela une à une les cloisons séparant les compartiments. On attend à chaque fois le retour à l'équilibre avant d'enlever une nouvelle cloison : le gaz est alors à chaque instant dans un état infiniment proche d'un état d'équilibre thermodynamique.
3.2.1. Exprimer la variation d'entropie correspondant à la suppression de la cloison
en fonction de
et le volume
occupé par le gaz avant d'enlever la cloison
.
3.2.2. Exprimer la variation d'entropie du gaz correspondant à la suppression de toutes les cloisons en fonction de et
.
3.2.3. Comparer les résultats des questions 3.1.4. et 3.2.2.
3.1.1. Quel est le travail reçu par le gaz parfait au cours de la détente ?
3.1.2. Montrer que l'énergie interne du gaz est constante au cours de la détente.
3.1.3. En déduire que la température du gaz ne change pas au cours de la détente.
3.1.4. En utilisant la question 1.4.2., calculer la variation d'entropie du gaz au cours de la détente en fonction de
3.1.5. Que vaut l'entropie reçue par le gaz
3.2. On opère cette fois-ci de façon quasi statique à l'aide d'un récipient comportant
On souhaite procéder en augmentant le volume occupé par le gaz par petites quantités
3.2.1. Exprimer la variation d'entropie
3.2.2. Exprimer la variation d'entropie du gaz correspondant à la suppression de toutes les cloisons en fonction de
3.2.3. Comparer les résultats des questions 3.1.4. et 3.2.2.
En procédant de façon quasi statique, a-t-on rendu la transformation réversible ?

Fig. 1 : cylindre et piston dans la configuration initiale

Fig. 2 : Ajout de la masse

Fig. 3 : détente de Joule Gay-Lussac simple

Fig. 4 : détente de Joule Gay-Lussac réalisée de façon quasi statique
