J-0
00m
00j
00h
00min
00s

Version interactive avec LaTeX compilé

CCINP Physique 2 PSI 2000

Notez ce sujet en cliquant sur l'étoile
0.0(0 votes)
Logo ccinp
2025_09_04_32c131f8ad52010e05c9g

CONCOURS COMMUNS POLYTECHNIQUES

Epreuve Spécifique Filière PSI

Physique 2
Durée 4 heures
Les calculatrices programmables et alphanumériques sont autorisées, sous réserve des conditions définies dans la circulaire 99-018 du 01-02-99
L'épreuve comporte un problème de physique et un problème de chimie.
Durées approximatives physique - 2 heures
chimie - 2 heures

PROBLEME DE PHYSIQUE

Le recueil des figures sera remis avec le sujet.

ETUDE PARTIELLE D'UN LECTEUR DE DISQUES AUDIONUMERIQUE ( Compact disc )

Présentation générale

Les trois parties de ce problème portent sur différents aspects d'un lecteur de disques audionumériques ( Compact Disc: CD ). Ces parties sont complètement indépendantes les unes des autres.

Remarque préliminaire

Lorsque nous utilisons le formalisme de Laplace, le candidat pourra considérer que l'opérateur de Laplace est égal à j , uniquement si cela lui semble plus commode.
En conséquence, toute fonction de transfert sera équivalente, en écriture à ou à la fonction de transfert complexe .

PREMIERE PARTIE : Propriétés optiques d'un disque audionumérique.

  1. Les caractéristiques d'un disque audionumérique sont fixées par un standard (livre rouge ou red book) :
Diamètre extérieur : 120 mm
Diamètre intérieur : 15 mm
Durée maximale de lecture : 74 mn
Capacité : 840 Mo
Profondeur d'impression ou gravure :
Pas de la spirale :
Largeur de la piste :
Diamètre du spot laser : environ
Quelques compléments sont donnés en figure 1.
Les informations sont situées sur des micro bosses ( ou pits ) qui suivent une spirale qui part de l'extérieur et va vers l'intérieur. Son pas est donné ci-dessus.

1.1) Caractéristiques optiques des disques audionumériques

Une des conséquences des caractéristiques mécaniques des disques audionumériques est leur aptitude à décomposer la lumière blanche. Ils agissent alors comme un réseau par réflexion.
Les disques compacts peuvent décomposer la lumière de plusieurs façons. La figures 1 (même en noir et blanc) représente une décomposition de la lumière en fonction de l'angle au centre (les couleurs changent en fonction de cet angle). Cette décomposition est souvent observée en lumière diffuse. Une observation plus attentive avec une source de lumière ponctuelle nous montre qu'un disque compact peut aussi décomposer la lumière suivant un des ses rayons (les couleurs changent lorsqu'on se déplace sur un rayon). C'est cette décomposition que nous allons étudier. Cette étude sera faite en négligeant les effets de la couche de plastique qui est placée avant la couche réfléchissante (figure 4).

Question 1.1.1.

On s'intéresse au réseau par réflexion constitué par un disque audionumérique. On prendra pour cela les notations suivantes : a période du réseau, angle d'incidence, angle de réflexion, (figure 2 ), longueur d'onde et l'ordre de la diffraction. Les angles seront comptés positivement dans le sens de .
Montrer à l'aide d'une figure détaillée et quelques explications que la relation fondamentale des réseaux par réflexion peut s'exprimer :
Pour simplifier on prendra comme domaine visible les longueurs d'onde variant de 400 nm à 800 nm . La période du réseau a sera le pas de la spirale de données et l'angle incident . Calculer les deux valeurs extrêmes et des angles réfléchis correspondant aux deux extrêmes de longueur d'onde du spectre visible pour l'ordre .

Question 1.1.2.

On place le disque pour que soit encore égal à , la source de lumière est supposée très éloignée. La lumière incidente sera donc parallèle et on supposera que le faisceau lumineux est assez large pour éclairer complètement un rayon du disque. Les figures 1 et 3 rappellent la largeur de la partie enregistrée qui agit donc comme un réseau. A quelle distance de notre œil devra-t-on approcher ce disque pour commencer à voir l'ensemble du spectre visible sur un rayon de la surface enregistrée de ce disque (figure 3) ? On vous demande pour répondre à cette question de reporter et compléter la figure 3 sur votre copie en faisant clairement apparaître les angles et calculés en 1.1.1.

1.2) Etude de la lecture optique d'un disque audionumérique

La lecture des informations sur le disque audionumérique se fait avec un laser. la source optique utilisée est une diode laser.
Les caractéristiques de la diode laser utilisée pour la lecture optique sont les suivantes :
Longueur d'onde dans l'air: 780 nm
Puissance maximale : 5 mW
Courant consommé en fonctionnement normal : 50 à 60 mA
Courant consommé par une diode laser usée : 100 mA
Durée de vie : 6000 heures
Puissance du rayon laser mesurée à 20 cm :

Question 1.2.1.

Sans entrer complètement dans les détails, on peut dire que le rayonnement laser est produit par des électrons qui changent de niveaux d'énergie. Quelle est la différence énergétique de ces deux niveaux d'énergie exprimée en électrons volts ( eV ) en fonction de charge électrique élémentaire, célérité de la lumière, la longueur d'onde et la constante de Planck?
Le principe de lecture est illustré en figures 4 et 5 . C'est un système interférentiel par séparation d'amplitude. Des micro bosses (pits) sont présentes ou absentes sur une surface réfléchissante (figure 4). Un faisceau de lecture est envoyé à travers le dispositif séparateur (non détaillé ici) sur la surface en aluminium du disque audionumérique, puis réfléchi, pour finalement interférer sur une photodiode qui mesure le flux énergétique lumineux. On suppose que, quand il n'y a pas de micro bosse, la différence de marche entre le chemin direct (figure 6a) et le chemin avec réflexion (figure 6b) est un multiple entier de la longueur d'onde .

Question 1.2.2.

Le faisceau de lecture traverse le plastic avant de frapper une surface d'aluminium sur laquelle se trouve la micro bosse (figure 4 et 5 ). L'indice du plastique est d'environ 1,5 . L'épaisseur d'une bosse est de . En présence d'une bosse la différence de chemin optique devient .
Calculer la modification due à la bosse.
Quel est alors le déphasage entre les faisceaux direct et réfléchi ?

Question 1.2.3.

On suppose que le montage optique est parfait : aucune perte dans le système optique et la surface d'aluminium est un miroir parfait. Le faisceau incident est caractérisé par son flux énergétique incident à la sortie du LASER. Ce flux énergétique est séparé en deux faisceaux (faisceau direct et réfléchi de même flux énergétique ) par le dispositif séparateur (supposé donc parfait). Dans le cas où l'on n'a pas de micro bosse quel est le flux énergétique récupéré sur la photodiode?
Dans le cas où on a une micro bosse, quel est le flux énergétique récupéré sur la photodiode si l'on admet que la micro bosse réfléchit l'ensemble du flux énergétique?
Le calcul précédent est approximatif parce que, comme le montre la figure 7, la micro bosse ne réfléchit pas complètement le flux énergétique. En admettant que , calculer une meilleure approximation du flux énergétique reçu sur la photodiode quand une micro bosse réfléchit le faisceau.

DEUXIEME PARTIE : Etude de l'asservissement en puissance de la diode LASER.

On rappelle qu'une diode est composée de deux parties en semi-conducteurs dopés. Pour la suite on désignera le substrat qui constitue la diode par sa composition de base, à savoir le silicium sans s'occuper des dopages.
Nous allons modéliser une diode laser classique. Ce circuit compote une diode laser émettrice et une diode PIN permettant de surveiller la puissance effectivement émise. Les caractéristiques constructeur sont fournies en figures 8a, 8b, 8c, 8d. La figure 8a donne la dépendance entre le courant dans la diode et la puissance optique émise . La figure 8b donne la dépendance entre le courant et la tension aux bornes de la diode laser. Le courant de seuil Is est défini comme le courant à partir duquel l'émission laser commence. La figure 8 c donne la dépendance de ce courant de seuil avec la température du boîtier. Enfin la figure 8d donne le courant circulant dans la diode PIN, IPIN, en fonction de la puissance émise par la diode laser.

Question 2.1.

La diode laser est donc un transformateur qui absorbe une puissance électrique et émet une puissance optique. A partir des caractéristiques constructeur (figures 8a, 8b, 8c, 8d), calculer le rendement de la diode laser pour un courant de 40 mA et une température de .

Question 2.2.

Le courant de seuil (noté par la suite) dépend de la température : on le constate en figure 8a et la figure 8c le confirme. A partir de cette documentation, trouver la loi donnant le courant de seuil en fonction de la température. On exprimera cette loi sous la forme :
en calculant les coefficients et et en précisant leurs unités.
2.3. Pour compenser les variations de la puissance émise en fonction de la température, l'ensemble diode laser plus diode PIN sera inséré dans un montage bouclé présenté en figure 9. a déjà été calculé en 2.2.

Question 2.3.

Calculer une valeur approximative manquante de avec la figure 8a en précisant son unité. Pourquoi vous demande-t-on une valeur approximative?
Calculer la valeur constante manquante dans avec la documentation figures 8a, 8b, 8c, 8d en précisant toujours l'unités.
2.4. Nous allons maintenant étudier les performances de ce système bouclé. Une difficulté se présente : et sont des fonctions de transfert non linéaires. Il est facile d'éluder cette difficulté pour :nous nous plaçons à un point de fonctionnement pour lequel nous avons toujours constant (valeur trouvée en 2.3.). Reste donc à linéariser la fonction de transfert .

Question 2.4.1.

La fonction de transfert est destinée à modéliser la dépendance du courant de seuil avec la température T du boîtier. Nous allons nous intéresser à ce qui se passe autour de . Il s'agit donc de linéariser cette fonction de transfert autour de et . Cela revient à considérer le point comme un point de repos, à faire varier la température faiblement autour de , variation notée , et à exprimer la variation de qui en résulte. C'est donc tout simplement une méthode des «accroissements finis».
On définit la fonction de transfert linéarisée .
Ecrire Is sous la forme autour du point en précisant les valeurs des coefficients et .
N.B. On ne vous demande pas d'application numérique ici. Exprimer et en fonction de et .

Question 2.4.2.

Si un petit échelon de température est présenté sur l'entrée T (du bloc fonctionnel décrit par ), quelle variation de Is en résultera? Quelle sera la constante de temps de la réponse ? Est-ce comme cela dans la réalité ?
En prenant le modèle calculé jusqu'à présent pour la diode, que peut-on donc dire sur le système bouclé global de la figure9 (dans lequel on insère cette diode) du point de vue de sa stabilité ?
N.B. On ne vous demande pas d'application numérique ici.
Pour parfaire les fonctions de transfert, nous allons faire intervenir quelques constantes de temps que nous allons évaluer physiquement.
2.5. Etude électrique de la jonction.
Une diode est composée de deux parties appelées respectivement semi-conducteur N et semi-conducteur P. Lorsque ces deux parties sont réunies, on obtient une jonction.
Un semi-conducteur rappelle une solution électrolysable qui a deux types de porteurs de charges (anions, cations). Ici, les porteurs de charges négatifs sont les électrons et les porteurs positifs sont appelés trous. Quant on met deux semi-conducteurs et en contact, il y a une diffusion des porteurs qui a pour conséquence l'apparition de charges électriques de chaque côté de la jonction.
Question 2.5.1. Calcul d'une capacité de jonction.
La diffusion a donc pour effet de déplacer des charges électriques ce qui donne à l'équilibre une distribution des charges comme indiqué en figure 10. Dans cette figure, dénote la densité volumique de charge qui ne dépend que de x. Ce déplacement des charges se fait en gardant la neutralité électrique (pour la diode complète). En exprimant l'égalité des charges de part et d'autre de la jonction, trouver une relation entre , .
Rappeler le lien entre le champ électrique et la densité de charge exprimé par l'équation de MaxwellGauss (en une seule dimension x).
En déduire l'équation différentielle permettant de trouver le champ électrique en fonction de . On notera la permittivité diélectrique du milieu, supposé uniforme.
Résoudre cette équation pour trouver le champ électrique. On admettra que le champ E est nul en dehors de la jonction. Représenter sur votre feuille cette allure.
Déduire la différentielle de potentiel entre les points et .
En déduire la capacité (dite de jonction) . On s'aidera pour cela de la figure 11 sachant que la partie grisée représente la jonction. Le calcul de la capacité de jonction peut être mené de plusieurs manières. On vous demande de faire le calcul par l'énergie électromagnétique:
ù
en comparant cette intégration à l'énergie d'une capacité soumise à une différence de potentiel .
Application numérique :
e. , e. .
Question 2.5.2. Calcul de la résistance et de la constante de temps
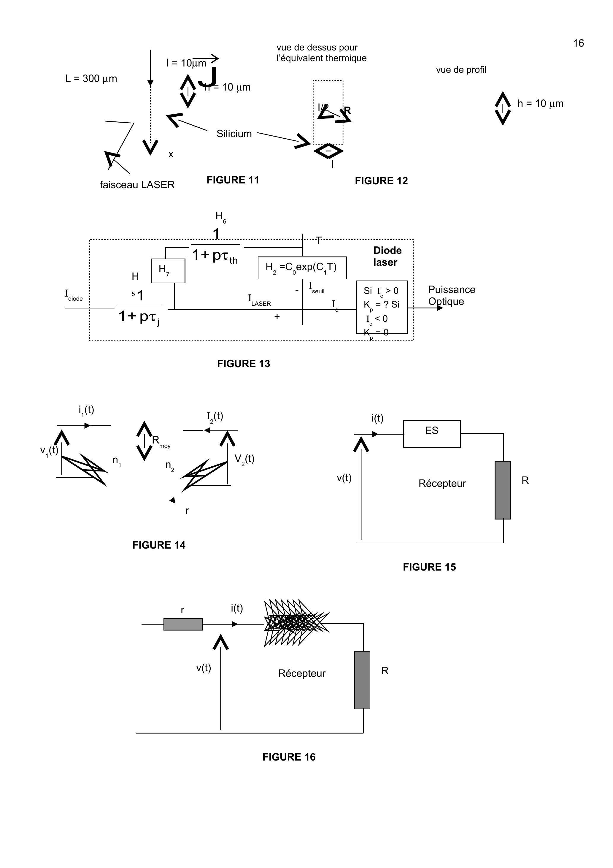
La diode laser est représentée en figure 11. Le vecteur (densité de courant) montre le sens du passage du courant, la surface perpendiculaire à ce vecteur est appelée section et notée
Calculer sa résistance électrique si la résistivité moyenne des matériaux utilisés est .
En déduire la constante de temps correspondant à l'ensemble résistance et capacité.
2.6. Etude thermique de la diode.
Nous allons essayer d'évaluer maintenant une autre constante de temps, la constante de temps thermique.
2.6.1. Constante de temps thermique .
On cherche à modéliser cette constante de temps par une capacité (thermique) On rappelle que lorsqu'on fait le parallèle entre les équations thermiques et les équations électriques les équivalents sont:
Electrique Thermique
différence de potentiel différence de température
intensité i flux thermique
résistance électrique : résistance thermique :
capacité électrique : capacité thermique :
chaleur massique

Question 2.6.1.

On se place dans l'approximation où ne dépend pas de la température. A partir de ces données, de la proportionnalité entre la chaleur reçue dQ et I 'élévation de température dT, trouver l'expression de la capacité thermique (c'est-à-dire l'équivalent de la capacité électrique) en fonction des paramètres présentés dans le tableau ci-dessus.
Une capacité associée à une résistance thermique détermine une constante de temps définie comme cidessous :

Exprimer la valeur de en fonction des paramètres qui vous semblent importants.
La pastille de silicium de la diode laser est représentée en figure 11. On donne pour le silicium aux températures considérées : .
Calculer alors la «capacité thermique» .

Question 2.6.2.

Le calcul de la résistance thermique est un peu complexe : il faudrait connaître les isothermes ou le gradient de température dans le parallélépipède de la figure 11. Pour ce calcul on va supposer que les isothermes ont la symétrie cylindrique. On va donc chercher la résistance thermique d'un cylindre creux de rayon extérieur et de rayon intérieur (voir figure 12 pour une vue de dessus et en perspective) et de même hauteur que le silicium.
Le cylindre plein de rayon est supposé de même volume que le parallélépipède de silicium. Calculer le rayon .
Notre source de chaleur par effet Joule est le cylindre intérieur et impose une température constance égale à . La température à l'extérieur du cylindre est supposée égale à . La température est supposée dépendre du rayon . On va chercher la température , en fonction du rayon dans le cylindre en régime permanent. désigne la surface latérale du cylindre de rayon .
En intégrant la loi de Fourier exprimée avec la symétrie cylindrique :
entre les deux températures et , déterminer le flux en fonction des rayons interne et externe du cylindre et des températures et .
En déduire la résistance thermique du cylindre (littérale et numérique). On donne comme conductivité thermique du milieu : .
Déduire de ces calculs la constante de temps thermique .

Question 2.7.

On a introduit les deux constantes de temps et dans un schéma fonctionnel (presque complet) de la diode laser (figure 13).
Laissons de côté le bloc qui mériterait d'être modifié (il n'en sort pas une température de boîtier mais une température de jonction).
Intéressons-nous d'abord au bloc fonctionnel : il y entre un courant et il en sort un courant l'on impose une variation brutale sur (passage de à ), dessiner sur votre feuille le courant transitoire qui en résulte. On ne peut pas appliquer la loi des nœuds sur ce bloc fonctionnel (courant entrant toujours égal au courant sortant) pendant le régime transitoire. Où part le courant manquant dans le composant physique qu'il modélise ?
Dire de quelle figure parmi les quatre de la figure 8 (a ou b ou c ou d) vous vous serviriez pour remplir le bloc fonctionnel manquant .

TROISIEME PARTIE : Alimentations et compatibilité électromagnétique (CEM)

Tout lecteur CD est alimenté soit par le réseau EDF soit par pile (pour les lecteurs portables). Les alimentations que nous allons étudier sont reliées au réseau EDF. Par conséquent, elles doivent respecter certaines normes de compatibilité électromagnétique pour perturber le moins possible le réseau électrique. II existe plusieurs paramètres pour estimer ces perturbations : le plus connu est le facteur de puissance. Avant d'aborder ce thème nous allons d'abord nous intéresser à l'élément essentiel d'une alimentation électrique quel que soit son type, à savoir le transformateur.
Toutes les questions de cette partie sont à résoudre sous forme littérale.

3.1. De la bobine au transformateur parfait

On considère le transformateur représenté en figure 14. C'est un tore de rayon avec constant ( c'est-à-dire une section constante pour le tore).
Ce transformateur comporte spires au primaire et spires au secondaire et son rapport de transformation est . Ses inductances primaire et secondaire sont notées respectivement et .
Dans tout ce qui suit, on néglige les pertes par hystérésis, les courants de Foucault et les résistances des enroulements primaire et secondaire . Le matériau magnétique composant le tore est supposé avoir un cycle d'hystérésis très étroit et une susceptibilité magnétique relative constante.
Le transformateur est donc parfait.

Question 3.1.1.

Dans un premier temps on imagine que le transformateur est sans secondaire. Il est donc équivalent à une bobine.
A l'aide du théorème d'Ampère exprimer la valeur de H en fonction de et .
En déduire , puis si désigne le flux dans une section du tore.
Que vaut alors si désigne le flux traversant les spires de l'inductance? En déduire l'inductance de la bobine ainsi formée.
Cette bobine parcourue initialement par aucun courant est soumise à une tension constant égale à , , pour variant de 0 à . Quelle est l'allure du courant ?
Expliquer en quelques mots ce qu'il se passerait si au bout du temps on laissait cette bobine en circuit ouvert (bobine déconnectée de tout générateur ou récepteur).

Question 3.1.2.

On ajoute maintenant un secondaire pour transformer notre bobine en transformateur.
Notre transformateur est à vide ( ). On se place dans les mêmes conditions qu'à la question précédente, c'est-à-dire (entre les instants et ). Tous les calculs de la question précédente peuvent donc être gardés et repris ici sans modification.
On vous demande d'exprimer littéralement la dérivée de ainsi que celle de si désigne le flux traversant les spires de l'inductance du secondaire.
Quelle est alors la tension aux bornes du secondaire pour en fonction de ?
Question 3.1.3. Transformateur en régime sinusoïdal
Rappeler les relations entre et pour un transformateur parfait en régime sinusoïdal.

3.2. Facteur de puissance

Dans tout ce qui suit le mot charge désignera une charge passive, c'est-à-dire une charge incapable de produire de l'énergie. On pourra ainsi la schématiser comme en figure 15, c'est-à-dire composée d'un élément résistif et d'un autre élément en série . Comme on le verra cet élément ES sera respectivement une bobine, un ensemble de diodes parfaites ou un interrupteur commandé.
Commençons par quelques rappels :
Les courants et tensions que nous utiliserons dans la suite seront soit continus, soit périodiques de période T. Dès qu'un courant ou une tension est périodique, on appelle puissance active (ou puissance électrique apportée ou tout simplement puissance) l'intégrale :
Les valeurs moyennes et efficaces du courant et de la tension se calculent par les intégrales:
On rappelle d'autre part que: .
Le facteur de puissance de notre charge de la figure 15 sera défini comme le rapport :
si U et I désignent respectivement la tension efficace et le courant efficace.
Ce facteur de puissance est toujours inférieur ou égal à 1.
3.2.1. Facteur de puissance en régime sinusoïdal forcé.
On suppose que notre élément en série de la figure 15 est une bobine d'inductance et que la tension d'entrée est sinusoïdale et peut s'écrit :

Question 3.2.1.1.

Quelle intensité traverse la résistance ? Donner sa valeur efficace I. Quelle est la valeur du déphasage de la tension par rapport au courant?

Question 3.2.1.2.

Exprimer littéralement la puissance électrique apporté à cette charge. En déduire le facteur de puissance pour cette charge.

Question 3.2.1.3.

Pour expliquer pourquoi EDF impose un facteur de puissance minimum (de 0,8 actuellement), on ajoute une résistance entre la source et la charge comme indiqué en figure 16. On remarquera que l'on garde la même tension aux bornes de la charge que pour la question précédente. Cette résistance modélise les pertes dans les lignes pour amener l'énergie électrique au récepteur.
On se place d'abord dans le cas : charge R, L. Exprimer littéralement les pertes par effet Joule dans cette résistance r.
On se place maintenant dans le cas (pas d'induction) et nouvelle charge résistive ' telle que la puissance active ' de ce nouveau récepteur soit la même que dans la question 3.2.1.2., c'est-à-dire . Calculer littéralement les nouvelles pertes par effet Joule dans la résistance . Comparer et . Conclusion.
Dans ce qui suit nous allons aborder le facteur de puissance sur deux type d'alimentations.

Question 3.2.2. Alimentation classique

Les diodes utilisées dans toute la suite du problème seront considérées parfaites : résistance nulle lorsqu'elles conduisent, et résistance infinie lorsqu'elles sont bloquées (interrupteur fermé, interrupteur ouvert).
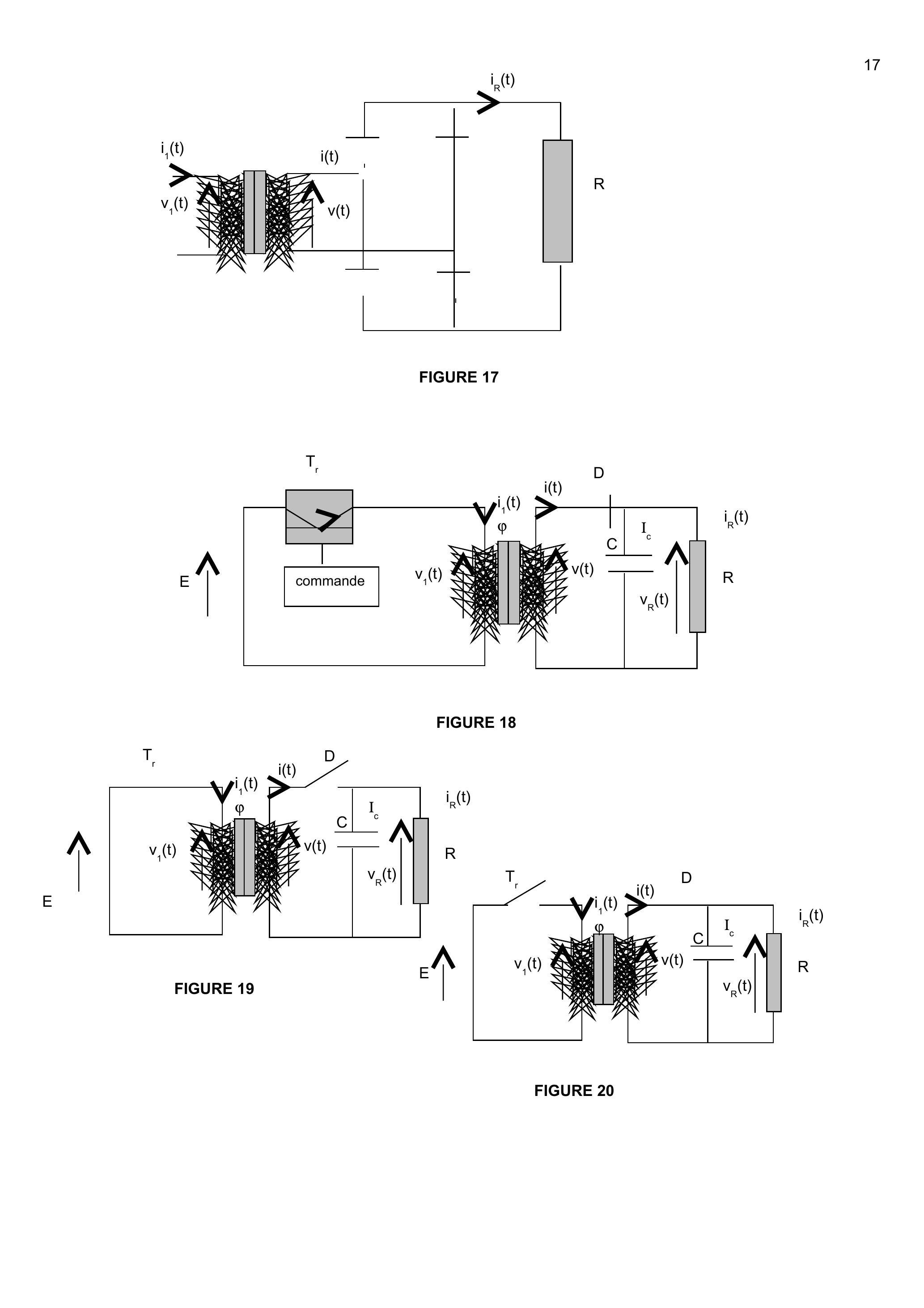
Notre transformateur est chargé par un redresseur double alternance composé de 4 diodes qui conduisent chacune leur tour deux à deux sur une demi-période (figure 17). La tension d'entrée , délivrée par le réseau EDF, est supposée sinusoïdale : .
Exprimer la tension en fonction de et des caractéristiques du transformateur.
Le redresseur est chargé par une résistance .
Représenter sur votre feuille l'allure de la tension ainsi que celle du courant .
Calculer alors le facteur de puissance en sortie du transformateur [tension et courant .

3.2.3. Alimentation à découpage

Une des caractéristiques de l'alimentation que nous venons d'étudier (transformateur puis redresseur) est la masse importante du transformateur parce qu'il est utilisé à la fréquence faible du secteur. Il est possible de diminuer cette masse du transformateur en redressant d'abord le secteur puis en utilisant un transformateur continu-continu de type hacheur : c'est une alimentation à découpage.
Dans tout ce qui suit les transistors seront supposés parfaits, donc considérés comme des interrupteurs ayant une résistance nulle lorsqu'ils sont passants, et une résistance infinie lorsqu'ils sont bloqués (interrupteur fermé, interrupteur ouvert).
3.2.3.1. Principe d'une alimentation à découpage Flyback
Nous allons étudier l'alimentation présentée en figure 18. Elle fonctionne en deux phases. La première phase entre les instants et , pour laquelle le transistor est passant dont le schéma équivalent est alors représenté en figure 19. Cette phase a déjà été étudiée en question 3.1.2 il suffit de remplacer par .

Question 3.2.3.1.

La deuxième phase, entre les instants at et T , est représentée en figure 20. la valeur du condensateur étant suffisante, on admet que est constante. A l'instant , qui valait disparaît ( devient bloqué) ; montrer qu'il doit apparaître un courant dont on calculera la valeur en fonction de et . Quelle «loi» sur le flux utilise-t-on pour répondre?
Déterminer l'évolution de i en fonction de et entre les instants et .
n'est pas quelconque: doit être périodique, c'est-à-dire qu'il vaut 0 à l'instant (comme à l'instant 0 ). En déduire en fonction de .

Question 3.2.3.2.

A l'aide des résultats de 3.1.2. et ceux de la question précédente, représenter et sur votre feuille.
Les calculs du facteur de puissance au secondaire du transformateur et surtout au primaire découlent des résultats précédents. On ne vous les demande pas. Ils montreraient que si les alimentations à découpage remplacent peu à peu les alimentations classiques ce n'est pas pour un meilleur facteur de puissance.

PROBLEME DE CHIMIE

DEPOTS ELECTROLYTIQUES DE REVETEMENTS ANTIFRICTION A BASE DE PLOMB

Pour éviter le grippage de certaines pièces métalliques frottantes, on utilise souvent des coussinets antifriction constitués d'une lame d'acier revêtue d'un matériau à base de plomb. Ce matériau peut être déposé par traitement électrolytique. Le problème ci-dessous discute des différents aspects de la réalisation de ces dépôts.
On représentera les ions en solution aqueuse par leur seule formule, en omettant les molécules d'eau de solvatation. Cette règle d'écriture sera appliquée au proton solvaté qu'on notera . Chaque question est numérotée. Il est demandé que chaque réponse soit concise, clairement identifiée et rappelle le numéro de la question correspondante. Toute réponse illisible, surchargée ou raturée est considérée comme fausse.

I- DEPOT DE PLOMB A PARTIR D'UNE SOLUTION DE NITRATE DE PLOMB

I-1 Préparation et contrôle de la solution initiale

On souhaite préparer une solution aqueuse contenant de . On dispose de nitrate de plomb solide, d'une fiole jaugée de 500 mL , d'un bécher gradué de 250 mL et d'une pissette d'eau distillée.
Question 1. Quelle quantité de nitrate de plomb doit-on peser ?
Q2. Décrire la suite des opérations à effectuer pour obtenir la solution souhaitée.
On veut mesurer le pH de la solution obtenue. On dispose d'un pH-mètre/mV-mètre électronique et de la série d'électrodes suivante :
  • électrode d'argent,
  • électrode au calomel saturée,
  • électrode standard à hydrogène,
  • électrode de platine,
  • électrode de plomb,
  • électrode de verre simple.
Q3. Quelles sont les deux électrodes qui permettront cette mesure ?
Q4. Quelle(s) solution(s) devra (devront) être utilisée(s) avant la mesure ?
On souhaite maintenant déterminer le potentiel redox du couple .
Q5. Quelle électrode supplémentaire est alors nécessaire?
Q6. Faire un schéma du montage.
Q7. Pour effectuer la mesure à , on acidifie la solution, sans dilution notable, avec un acide fort concentré. Quel acide est-il naturel d'utiliser ?
Q8. Le résultat de la mesure de potentiel est alors e ECS. Quelle est la valeur du potentiel standard recherché ?
Q9. De la différence avec la valeur extraite de la littérature, fournie en annexe 1, déduire le coefficient d'activité des ions dans la solution aqueuse étudiée.
On réalise maintenant l'électrolyse de la solution de plomb (II) ci-dessus entre le coussinet à revêtir, placé en cathode, et une électrode de plomb placée en anode.
Q10. Ecrire les deux demi-réactions redox mises en jeu aux électrodes. Pourquoi la thermodynamique prévoit-elle la circulation d'un courant dans la cellule d'électrolyse dès l'application d'une différence de potentiel très faible ?
Q11. Les mesures effectuées dans une cellule d'électrolyse de laboratoire sont en accord avec cette prévision, comme le montrent les résultats consignés dans le tableau 1 de l'annexe 2 . Déduire de cette observation les valeurs de la surtension cathodique et de la surtension anodique. Quelle est la résistance de la cellule?
Q12. Calculer, pour chaque valeur de la d.d.p. appliquée aux bornes de la cellule, le rendement faradique, défini comme la fraction du courant d'électrolyse utilisée pour le dépôt de plomb. Quelle est la réaction parasite qui réduit ce rendement pour les d.d.p. élevées ?
Malheureusement, les dépôts de plomb obtenus dans ces conditions ne sont ni homogènes, ni adhérents et ne peuvent être utilisés pour l'application visée. Pour obtenir des revêtements électrodéposés réguliers, il est connu qu'il est nécessaire de complexer le plomb (II) afin d'abaisser notablement la concentration en espèce libre dans la solution de dépôt. L'étude de cette méthode fait l'objet de la seconde partie du problème.

II- DEPOT DE PLOMB A PARTIR D'UNE SOLUTION DE PLOMB (II) COMPLEXEE

II. 1 Préparation des cyanures

On utilise l'ion pour complexer les cations métalliques.
Q13. Quelle est la formule de Lewis de cet anion?
Préciser ce qui, dans sa structure électronique, lui confère ses fortes propriétés complexantes?
Compte-tenu de la haute toxicité des ions cyanures, le traitement des eaux résiduaires des ateliers de traitement de surface comporte une étape d'oxydation de ces ions par les ions monooxochlorate (I), couramment dénommés hypochlorite, selon le bilan de principe suivant :
Q14. Equilibrer cette équation bilan.

II-2 Utilisation d'un complexant non toxique : l'anion gluconate

Etude préliminaire du couple acide gluconique/ ion gluconate

L'ion gluconate est la base conjuguée de l'acide gluconique ou acide -hydroxyhexanoïque.
Q15. Ecrire la formule développée plane de cet acide. Quel est le nombre de stéréoisomères possibles ?
Q16. Donner la représentation de Cram de la molécule d'acide gluconique où le carbone numéro 2 est de configuration .
Q17. L'acide gluconique commercial est dénommé «D-gluconique». Que signifie cette appellation?
Q18. On prépare une solution d'acide gluconique à et on constate que son pH est égal à 2,5 . Quel est le de l'acide gluconique déduit de cette observation? (On pourra utiliser les notations simplifiées HGlu pour désigner l'acide gluconique et Glu' pour l'anion gluconate).
On souhaite vérifier cette valeur de en traçant la courbe de neutralisation de l'acide gluconique par l'hydroxyde de sodium (soude). La courbe obtenue est présentée en annexe 3, avec les conditions qui ont servi à la tracer. la forme particulière de cette courbe (deux sauts de pH ) n'est pas en accord avec la fait que l'acide gluconique ne peut être que monoacide. Une hypothèse pour expliquer cette forme pourrait être la suivante: dans la solution soumise à la neutralisation, l'acide gluconique serait en partie auto-estérifié sous différentes formes cycliques (estérification intramoléculaires).
Q19. La forme estérifiée la plus abondante est très probablement l'ester intramoléculaire possédant un cycle à 6 chaînons. Quelle est sa formule développée plane ?
Q20. Dans cette hypothèse, expliquer la signification des deux sauts de pH .
Q21. En s'aidant de la réponse précédente, déduire de la courbe le de l'acide gluconique et sa concentration exacte.

Dépôt électrolytique de plomb à partir du complexe plomb-gluconate

Certaines études laissent entrevoir que l'anion gluconate remplacerait avantageusement l'ion cyanure comme complexant des espèces dans les procédés de dépôt électrolytique du plomb. L'expérience décrite ci-dessous a pour but de déterminer la formule du complexe plomb-gluconate éventuel et sa constante de stabilité. Cette expérience a consisté à mesurer le potentiel pris par une électrode de plomb métallique dans trois solutions contenant chacune mol. de (introduit sous forme de nitrate). Le pH est fixé à 6 dans chacune de ces solutions. Le tableau 2 de l'annexe 2 fournit les valeurs des quantités de complexant et les résultats correspondants des mesures de potentiels.
Q22. Quelle est l'équation de la droite ? (on désigne par pGlu la quantité -log[Glū]).
Q23. En écrivant l'expression de la constante de stabilité du complexe , en faisant l'hypothèse que le plomb est fortement complexé et en négligeant la quantité de gluconate dans le complexe par rapport à la quantité totale introduite dans les solutions, déterminer l'expression théorique de l'équation de cette droite et en déduire la formule du complexe et sa constante de stabilité (on considérera que toutes les espèces en solution ont un comportement idéal).
Q24. Une expérience de dépôt conduite dans une solution complexée donne un revêtement lisse et adhérent sur un coussinet d'aire totale . L'augmentation de la masse du coussinet est de 2.0575 g . Quelle est l'épaisseur moyenne du dépôt de plomb ? (ce calcul nécessite la détermination de la masse volumique du plomb à partir des données cristallographiques disponibles en annexe 1).

Annexe 1 : Données numériques

Numéros atomiques
C:
N:
Masses molaires atomiques :
C
Nombre d'Avogadro :
Charge de l'électron :
Potentiel de Nerst (à ) : (RT/F).In
Potentiel de l'électrode de référence au calomel saturée (ECS) : 0.245 V/ESH
Données cristallographiques relatives au plomb métallique : système cristallin : cfc

Annexe 2 : Résultats d'expériences

Tableau 1 : dépôt électrolytique de plomb à partir d'une solution de nitrate de plomb à pH Conditions employées et masse de plomb obtenue.
Tension aux bornes de la cellule V (Volt) 0 0,11 1,03 2,07 3,12 3,94
Courant traversant la cellule I (Ampère) 0 0,015 0,147 0,292 0,433 0,575
Durée d'électrolyse t (seconde) 900 900 900 900 900
Masse de plomb déposée m (milligramme) 0 14,5 135,1 211,9 297,9 383,9
Tableau 2 : Détermination électrochimique de la constante de stabilité du complexe plomb-gluconate.
Quantité de plomb (II) introduite (mol.L )
Quantité d'anion gluconate introduite (mol.L ) 1
Potentiel de l'électrode de plomb (mV/ECS) -432 -486 -548
FIGURE 1
FIGURE 3
(a)
FIGURE 2
FIGURE 5
FIGURE 7
FIGURE 6
FIGURE 10
vue de profil
FIGURE 13
FIGURE 14
FIGURE 15
FIGURE 16
FIGURE 17
FIGURE 18
FIGURE 20