J-0
00m
00j
00h
00min
00s

Version interactive avec LaTeX compilé

CCINP Physique 2 MP 2009

Notez ce sujet en cliquant sur l'étoile
0.0(0 votes)
Logo ccinp
2025_09_04_3bd253991811972ffea5g

CONCOURS COMMUNS POLYTECHNIQUES
EPREUVE SPECIFIQUE - FILIERE MP

PHYSIQUE 2

Durée : 4 heures

Les calculatrices sont autorisées

NB : Le candidat attachera la plus grande importance à la clarté, à la précision et à la concision de la rédaction.
Si un candidat est amené à repérer ce qui peut lui sembler être une erreur d'énoncé, il le signalera sur sa copie et devra poursuivre sa composition en expliquant les raisons des initiatives qu'il a été amené à prendre.

Partie A : ÉLECTROMAGNÉTISME

Écrantage d'un champ magnétique

Les grandeurs vectorielles sont en caractères gras.
On rappelle les expressions de la divergence et du rotationnel d'un vecteur en coordonnées cylindriques
On rappelle que et la valeur de la perméabilité magnétique du vide :
.
On utilisera les coordonnées cylindriques et la base locale associée .
Dans tout le problème, on se place dans l'approximation des régimes quasi permanents.
Les trois parties sont indépendantes.

PARTIE I

On considère deux solénoïdes et coaxiaux, d'axe , de même longueur , de rayons et et comportant respectivement et spires jointives, enroulées dans le même sens (voir Figure 1).
Dans toute la suite on négligera les effets de bord; on considèrera donc les solénoїdes comme très longs. Ces deux bobines ont pour résistance respectivement et . On pourra introduire les nombres de spires par unité de longueur .
Figure 1. Vue en coupe longitudinale
  1. Le solénoïde est parcouru par un courant d'intensité , étant en circuit ouvert.
    a. Exprimer le champ magnétique créé dans tout l'espace.
    b. En déduire que le coefficient d'inductance de vaut ; donner l'expression de , l'inductance de et calculer sa valeur numérique.
    c. Définir le coefficient de mutuelle inductance entre les deux solénoïdes. Montrer que .
  2. Le solénoïde est alimenté par un générateur idéal de courant électromoteur avec ; les deux extrémités du solénoïde sont reliées par un fil sans résistance.
    a. Déterminer l'amplitude complexe du courant circulant dans en fonction de et . La mettre sous la forme . On donnera l'expression de en fonction de et et celle de en fonction de et .
    b. En déduire l'expression de l'amplitude complexe du champ magnétique total à l'intérieur du solénoïde .
    Montrer que ce champ tend vers 0 à haute fréquence. Commenter ce résultat.
    c. Application numérique; calculer ainsi que les amplitudes de et de pour une fréquence de 11 kHz . Calculer le rapport des amplitudes .

PARTIE II

Le solénoïde est remplacé par un cylindre conducteur de rayon intérieur , d'épaisseur , de longueur et de conductivité . On néglige à nouveau les effets de bord. Dans un premier temps, on assimile le cylindre à une surface.
Le solénoïde est traversé par un courant .
  1. Justifier rapidement que l'on puisse écrire est la densité de courant surfacique sur le conducteur et le champ électrique au même point. Justifier que est orthoradial.
  2. a. Déterminer la direction du champ magnétique dans tout l'espace.
    b. Calculer le champ magnétique dans l'espace .
    c. Montrer que le champ magnétique est uniforme dans l'espace .
    d. Déterminer la direction du champ électrique pour ; en déduire l'expression de l'amplitude complexe de ce champ au niveau du cylindre conducteur en fonction de , l'amplitude complexe de .
    e. En déduire la relation désigne l'amplitude complexe de ; on exprimera en fonction de et .
    f. Application numérique. , la fréquence est de 11 kHz ; calculer l'amplitude du champ , celle de ainsi que l'amplitude de l'intensité qui traverse le conducteur. A quel phénomène l'écrantage du champ magnétique est-il dû ?

3) Estimation de la pulsation de coupure

Dans ce paragraphe, le conducteur cylindrique, qui n'est plus assimilé à une surface, est seul dans l'espace.
On cherche à caractériser le cylindre par son inductance et par sa résistance .
a. On suppose le cylindre parcouru par une densité volumique uniforme de courant orthoradiale ; déterminer le champ magnétique dans tout l'espace.
b. Déterminer l'intensité du courant qui traverse une section droite du conducteur de longueur et de hauteur .
c. Calculer l'énergie magnétique dans tout l'espace en négligeant la contribution du volume du cylindre . En déduire l'expression de l'inductance .
d. Pour calculer la résistance , on fend le cylindre selon une génératrice et on soumet les deux bords obtenus à une différence de potentiel (voir Figure 2).
Figure 2. Cylindre vu de face
On suppose que les courants se répartissent uniformément dans le volume.
Relier la densité de courant au champ électrique, puis à la différence de potentiel ; en déduire la résistance.
e. Construire un temps caractéristique ; à quelle grandeur peut-on le comparer?

PARTIE III. Champ magnétique dans un conducteur

1) Équation générale

On considère un conducteur de conductivité , dans lequel existe un champ magnétique.
Montrer que le champ vérifie l'équation différentielle .
2) On cherche une solution harmonique de la forme complexe .
Déterminer la solution générale ; on posera avec .
3) Calculer numériquement avec .
Peut-on justifier l'approximation, que les champs sont uniformes dans le cylindre, étudiée en II. 3 ?

Partie B : OPTIQUE

Le problème d'optique comprend deux parties indépendantes. Une première partie sur la polarisation des ondes lumineuses présente un caractère assez expérimental, suivie d'une seconde partie, plus théorique, sur la diffraction de Fraunhofer par une ouverture rectangulaire.
Les grandeurs vectorielles sont en caractères gras.
Les six figures du problème d'optique sont rassemblées en page 9.

Polarisation et diffraction des ondes lumineuses

1. POLARISATION

Une vibration monochromatique (harmonique de pulsation , de vecteur d'onde ) s'exprimera en notation :
  • complexe avec ,
  • vectorielle : avec .

1.1. Polarisation rectiligne

1.1.1. Définir l'état de polarisation rectiligne des ondes lumineuses représentées par les champs électrique et magnétique . Qu'appelle-t-on plan de polarisation ?
1.1.2. Donner, dans la base orthonormale , les expressions complexes des champs électriques et , associés aux ondes polarisées suivantes :
  • le champ se propage suivant l'axe et fait un angle de avec l'axe .
  • le champ de polarisation rectiligne suivant l'axe se propage dans une direction qui fait, dans le plan , un angle de avec l'axe .

1.2. Production et analyse d'une lumière polarisée rectilignement

Décrire et placer schématiquement les éléments d'un montage permettant de produire une lumière polarisée rectilignement et de l'analyser.

1.3. Loi de Malus

1.3.1. Énoncer et formuler la loi de Malus.
1.3.2. Soit trois polariseurs linéaires parfaits et alignés normalement à un axe central le long duquel se propage un rayon incident d'intensité issu d'une source de lumière naturelle. Les axes de polarisation de et étant respectivement horizontal et vertical, déterminer en fonction de l'expression de l'intensité émergente de dans les cas suivants :
1.3.2.1. a son axe de polarisation vertical.
1.3.2.2. a son axe de polarisation orienté de avec la verticale.
1.3.2.3. tourne avec une pulsation autour de l'axe central. En déduire la pulsation de l'oscillation de l'intensité du rayon émergent.

1.4. Polarisation par réflexion

1.4.1. Phénomène de Brewster: Une onde électromagnétique plane se propage dans un milieu transparent d'indice de réfraction et tombe sur un dioptre sous un angle
d'incidence . L'onde est réfractée sous l'angle dans un milieu transparent d'indice de réfraction .
1.4.1.1. L'onde incidente est polarisée rectilignement, le champ électrique étant perpendiculaire au plan d'incidence. En considérant le rayonnement de dipôles oscillants, peut-il exister des ondes réfléchies et réfractées quel que soit l'angle d'incidence ? Justifier votre réponse.
1.4.1.2. L'onde incidente est polarisée rectilignement, le champ électrique étant contenu dans le plan d'incidence. Expliquer pourquoi, pour un angle d'incidence (appelé angle de Brewster), le champ n'est pas réfléchi.
1.4.1.3. Déduire, de la question précédente, l'expression de l'angle en fonction des indices et et calculer la valeur de pour le cas de la transmission air ( )-verre ( ).
1.4.1.4. L'onde plane incidente est issue d'une source de lumière naturelle. Après réflexion sur le dioptre, pourquoi la lumière se trouve-t-elle polarisée totalement quand l'angle d'incidence est ?
1.4.1.5. En déduire une méthode expérimentale pour déterminer l'axe d'un polariseur en présence d'une lumière naturelle.

1.5. Polarisation par dichroïsme (anisotropie d'absorption)

1.5.1. Cristaux dichroïques: La tourmaline (borosilicate naturel d'aluminium) présente, quand elle est traversée par la lumière blanche, une couleur verdâtre dans une certaine orientation et apparaît opaque pour une autre orientation.
Expliquer le phénomène de dichroïsme dans la tourmaline.
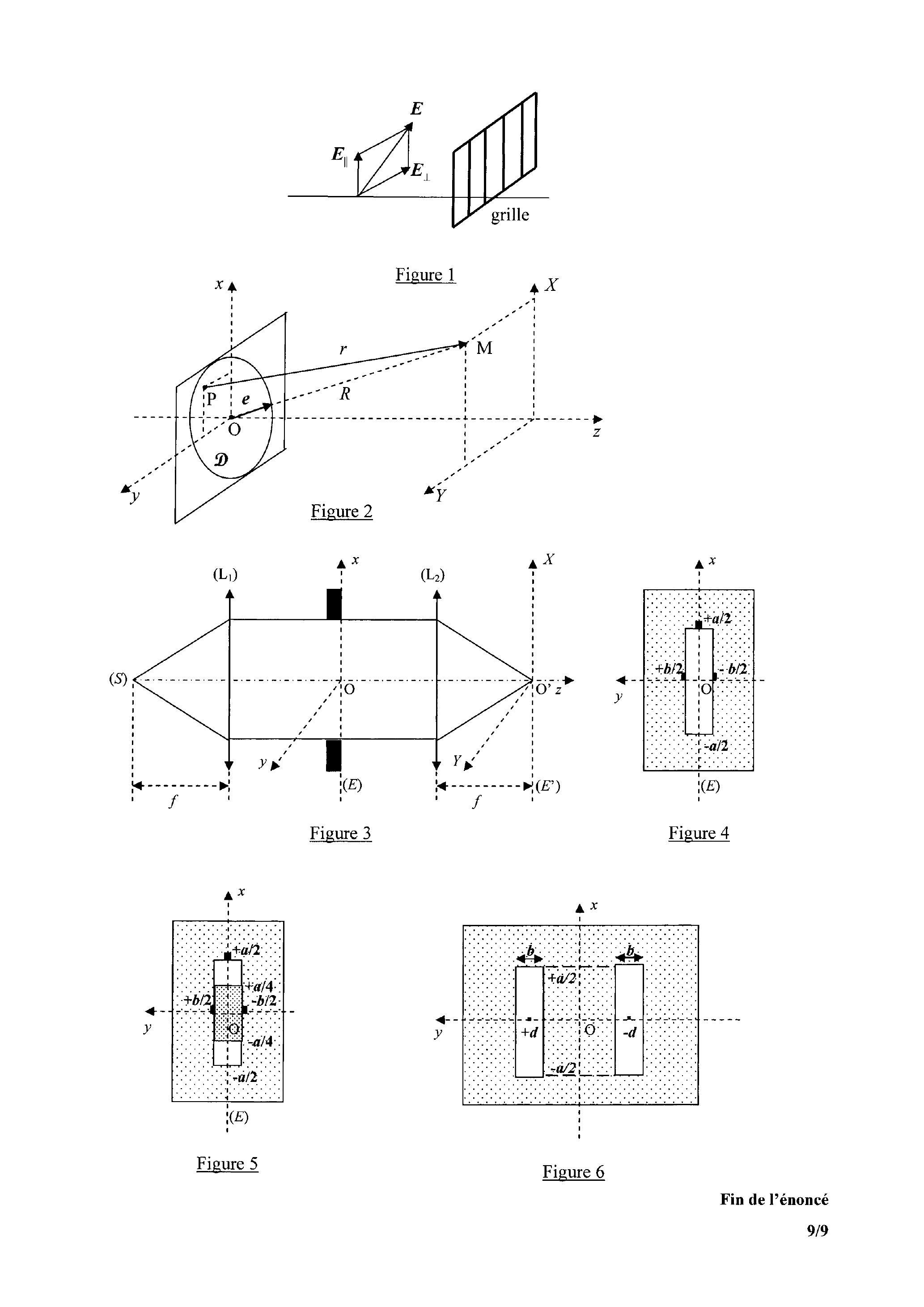
1.5.2. Grille métallique : On considère une grille constituée de fils métalliques parallèles. La période d'espacement des fils est de l'ordre de la longueur d'onde de la lumière. Pourquoi cette grille présente-t-elle la propriété de dichroïsme ?
Quel est l'état de polarisation à la sortie de la grille pour une lumière naturelle qui arrive perpendiculairement sur la grille (Figure 1)?
1.5.3. Feuilles polarisantes: Les polariseurs les plus courants sont réalisés avec des feuilles polarisantes.
Expliquer la technique de fabrication et l'origine du dichroïsme de ces feuilles polarisantes.

1.6. Polarisation par diffusion

1.6.1. Diffusion par un électron atomique: On interprète cette diffusion dans le cadre du modèle de l'électron élastiquement lié. L'électron de charge , de masse , est soumis à un champ électrique , à une force élastique de rappel , où représente l'écart à la position d'équilibre et à une force de frottement visqueux .
1.6.1.1. Établir la relation fondamentale de la dynamique appliquée à l'électron quand le champ électrique est appliqué.
1.6.1.2. Déterminer, en représentation complexe, la solution particulière correspondant au régime permanent (ou établi), sous la forme pour un champ : .
1.6.1.3. En déduire l'expression complexe du moment dipolaire induit et son module .
1.6.1.4. Montrer que la puissance moyenne rayonnée par l'atome , dans le cas de la diffusion Rayleigh , est proportionnelle à correspond à la pulsation .
1.6.2. Ciel bleu et soleil jaune.
1.6.2.1. Pourquoi le ciel terrestre est-il bleu? Qu'en est-il de sa couleur en l'observant de la lune?
1.6.2.2. Vu de la terre le soleil semble jaune, pourquoi ? Quelle est sa couleur, vue depuis l'espace?

2. DIFFRACTION

2.1. Principe de Huygens-Fresnel

L'interprétation quantitative, la plus simple, de la diffraction, repose sur une théorie ondulatoire dont les hypothèses de base, formulées par Huygens dès 1678, furent complétées par Fresnel en 1818 et synthétisées sous le nom de «principe de Huygens-Fresnel».
2.1.1. Quelle est la contribution de Huygens ?
2.1.2. Quelle est celle attribuée à Fresnel ?

2.2 Diffraction de Fraunhofer

D'après le principe de Huygens-Fresnel, l'amplitude complexe d'une onde monochromatique scalaire en un point M s'écrit :
est l'amplitude complexe de l'onde incidente en P de et le nombre d'onde de la vibration.
2.2.1. Dans l'expression de , que traduit le terme et que caractérise la fonction ? Quelle est la dimension physique de la constante ?
2.2.2. On désigne par Oxy le plan pupillaire, comprenant le diaphragme l'axe normal à ce plan, P le point de coordonnées et les coordonnées du point M (Figure 2).
Montrer que s'exprime en fonction de , de OP et du produit scalaire où le vecteur unitaire caractérise la direction d'observation.
2.2.3. En déduire que, dans l'approximation de Fraunhofer, la simplification de dans conduit à l'expression approchée suivante pour l'amplitude complexe de l'onde au point .
Expliciter la constante en fonction de la constante , de et . Quelle est la dimension physique de ?
2.2.4. On introduit les fréquences spatiales et et sont les composantes du vecteur unitaire suivant les axes et . Que devient l'expression de l'amplitude complexe ? En déduire l'intensité de l'onde lumineuse dans le plan d'observation suivant la direction .

2.3. Diffraction par une fente

Le système optique, représenté sur la Figure 3, comprend un écran opaque ( ), percé d'un diaphragme rectangulaire (Figure 4), placé entre deux lentilles minces convergentes identiques ( ) et ( ) (focales images ). Une source ponctuelle ( S ) émettant une radiation monochromatique (longueur d'onde ) est placée au foyer objet de ( ). La lumière diffractée est observée sur un écran ( ) placé dans le plan focal image de ( ).
On repère un point P du diaphragme par ses coordonnées et dans et un point M de ( ) par ses coordonnées et dans ( ). Les axes et d'une part, et d'autre part, sont parallèles. Les deux lentilles sont disposées suivant le même axe optique perpendiculaire à ( ) et ( ).
2.3.1. Montrer que l'amplitude de l'onde lumineuse diffractée par la fente, représentée sur la Figure 4, dans la direction du vecteur unitaire est de la forme : .
Les paramètres et seront exprimés en fonction de dimensions de la fente, de , de (défini en question 2.2.3.) et des fréquences spatiales et pour la longueur d'onde .
En déduire l'intensité en un point de l'écran ( ).
2.3.2. On recouvre la fente rectangulaire transparente de dimensions et d'une pupille rectangulaire transparente de même centre O , de mêmes axes de symétries et , de dimensions et et qui introduit un déphasage de pour les ondes qui la traversent (Figure 5). Déterminer, à nouveau, l'amplitude diffractée et l'intensité au point de .

2.4. Diffraction par deux fentes

2.4.1. On fait subir à la fente une translation dans son plan pour la centrer au point de coordonnées . Exprimer l'amplitude complexe ; en quoi diffère-t-elle de ? Comparer la nouvelle intensité à .
2.4.2. En tenant compte du résultat de la question précédente, quelles sont les amplitudes complexes et de deux fentes centrées respectivement en et (Figure 6) ?
En déduire l'amplitude complexe et l'intensité , que l'on mettra sous la forme , de la lumière diffractée par ces deux fentes sur l'écran . On exprimera les et .
2.4.3. Comment peut-on, à partir de la représentation graphique (non demandée) de la fonction , déterminer la distance entre les fentes et une des deux dimensions des fentes?

Figure 3
Figure 4
Figure 5
Figure 6
Fin de l'énoncé
CCINP Physique 2 MP 2009 - Version Web LaTeX | WikiPrépa | WikiPrépa